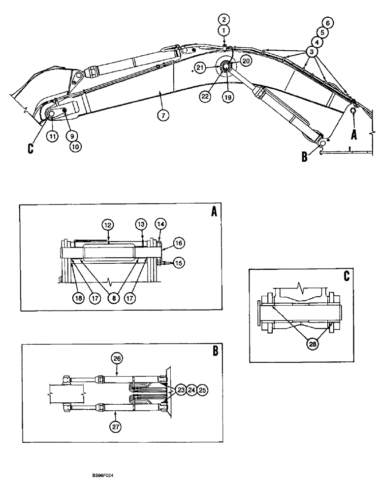
Запчасти Case 9060B (9-066) - BOOM, MOUNTING PINS AND BOOM CYLINDERS (09) - CHASSIS

Схема запчастей Case 9060B - (9-066) - BOOM, MOUNTING PINS AND BOOM CYLINDERS (09) - CHASSIS
6
13
8
14
18
16
23
12
17
11
28
10
26
15
21
19
2
7
4
9
20
22
1
27
3
5
17
25
24
FIT
1:1
100%

Артикул

Название

Примечание

Количество

1

170177A1

ROD

- threaded

1шт.

2

425-1020

NUT,1 1/4"-7, G5

- hex, 1-1/4 inch NC

4шт.

3

151458A1

STAY

GUARD - tube

5шт.

4

627-12025

BOLT,Hex, M12 x 1.75 x 25mm, Cl 10.9, Full Thd

- hex, full threads, 12 - 1.75 x 25 mm, class 10.9

20шт.

5

892-11012

LOCK WASHER,M12

WASHER, LOCK, M12

20шт.

6

896-11012

WASHER,13.5mm ID x 24mm OD x 3mm Thk

20шт.

7

170174A1

BOOM

- excavator, M7.1 (23 ft 3-5/8 inch) long

1шт.

8

170108A1

BUSHING

- boom

2шт.

9

628-20030

SCREW,Hex, M20 x 2.5 x 30mm, Cl 10.9, Full Thd

BOLT - hex, full threads, 20 - 2.5 x 30 mm, class 10.9

1шт.

10

170219A1

WASHER

- special

1шт.

11

170169A1

PIN

- arm attaching

1шт.

12

153630A1

LUBE NIPPLE

FITTING - grease, straight

1шт.

13

153631A1

LUBE NIPPLE,1/8"-27 NPT

FITTING - grease, 45 degree

1шт.

14

514-1501

BOLT,Hex, M30 x 2 x 260mm, Cl 10.9

- hex, 30 - 2.0 x 260 mm, class 10.9

1шт.

15

825-11330

NUT,M30 x 2, Cl 8

- hex, 30 mm - 2

2шт.

16

170107A1

PIN

- boom attaching

1шт.

17

150331A1

SEAL

SEAL - dust

2шт.

18

151447A1

BLOCK

SHIM - .05 inch thick, boom

1шт.

19

153812A1

PIN

- attaching, boom cylinder

1шт.

20

827-24200

BOLT,Hex, M24 x 3 x 200mm, Cl 10.9

- hex, 24 - 3.0 x 200 mm, class 10.9

2шт.

21

153808A1

RING, LOCKING

COLLAR - pin retaining

2шт.

22

829-13424

NUT,M24 x 2, Cl 10

- hex, 24 mm - 2.0, class 10

4шт.

23

170176A1

PIN

- special

2шт.

24

628-20030

SCREW,Hex, M20 x 2.5 x 30mm, Cl 10.9, Full Thd

BOLT - hex, full threads, 20 - 2.5 x 30 mm, class 10.9

2шт.

25

170219A1

WASHER

- special

2шт.

26

163937A1

CYLINDER

ASSEMBLY - 160 (6-5/16) ID x 1580 mm (60-3/16 inch) stroke, boom, left-hand, parts list Figure 8-140

1шт.

27

163936A1

CYLINDER

ASSEMBLY - 160 (6-5/16) ID x 1580 mm (60-3/16 inch) stroke, boom, right-hand, parts list Figure 8-140

1шт.

28

151357A1

BUSHING

-, Serial Range: Boom-arm

2шт.

Выбрано товаров: 28