Запчасти Case 9060B (5-10) - TRACK CARRIER ROLLERS, MANUFACTURED BY SUMITOMO (11) - TRACKS/STEERING

Схема запчастей Case 9060B - (5-10) - TRACK CARRIER ROLLERS, MANUFACTURED BY SUMITOMO (11) - TRACKS/STEERING
1
12
8
3
7
13
5
9
2
5
14
8
6
11
4
10
FIT
1:1
100%

Артикул

Название

Примечание

Количество

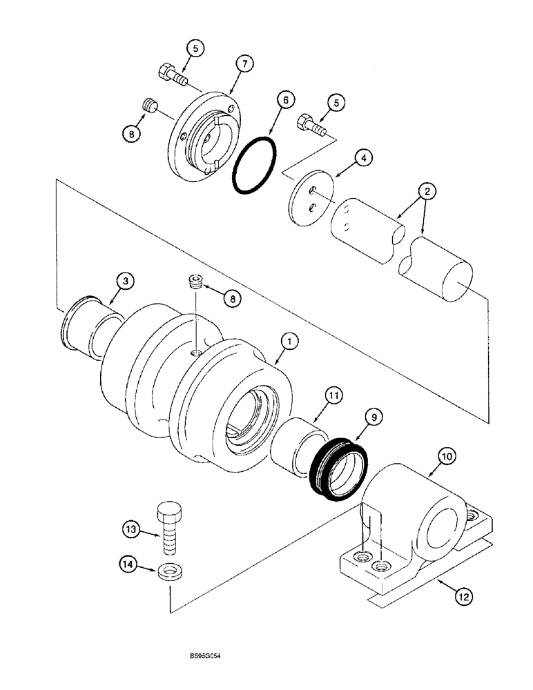
158745A1

ROLLER ASSY.

ROLLER ASSEMBLY - carrier, manufactured by Sumitomo, Includes: Ref. 1 - 11

4шт.

1

158746A1

SHIFTER ROLLER

ROLLER - carrier, track

1шт.

2

152101A1

WHEEL SHAFT

SHAFT - carrier roller

1шт.

3

158747A1

BUSHING

- flanged, fabricated, 60 x 64 x 45 mm long

2шт.

4

152147A1

PLATE, THRUST

RETAINER - shaft (thrust plate)

1шт.

5

628-10025

BOLT,Hex, M10 x 1.5 x 25mm, Cl 10.9, Full Thd

5шт.

6

154695A1

O-RING

- cover

1шт.

7

152143A1

COVER

- end, carrier roller

1шт.

8

150821A1

PLUG

- port, carrier roller

2шт.

9

150737A1

SEAL

- face, includes two seals and two rings, carrier roller

1шт.

10

152103A1

BRACKET

- mounting, carrier roller

1шт.

11

158748A1

BUSHING

- fabricated, 60 x 64 x 42 mm long

2шт.

12

150003A1

HUB

SHIM - bracket height, 0.8 mm (.03 inch) thick

1шт.

13

828-16055

BOLT,Hex, M16 x 2 x 55mm, Cl 10.9

Bracket mounting Hex, M16 x 55, 10.9, Full Thd

16шт.

14

150814A1

WASHER,17mm ID x 32mm OD x 4.5mm Thk

- flat, special

16шт.

Выбрано товаров: 15