Запчасти Case 9060B (8-160) - HYDRAULIC PUMP, HOUSINGS, MAJOR SUBASSEMBLIES, AND RELATED COMPONENTS (08) - HYDRAULICS

Схема запчастей Case 9060B - (8-160) - HYDRAULIC PUMP, HOUSINGS, MAJOR SUBASSEMBLIES, AND RELATED COMPONENTS (08) - HYDRAULICS
6
10
3
8
11
7
1
4
2
9
13
4
12
5
FIT
1:1
100%

Артикул

Название

Примечание

Количество

163568A1

PUMP

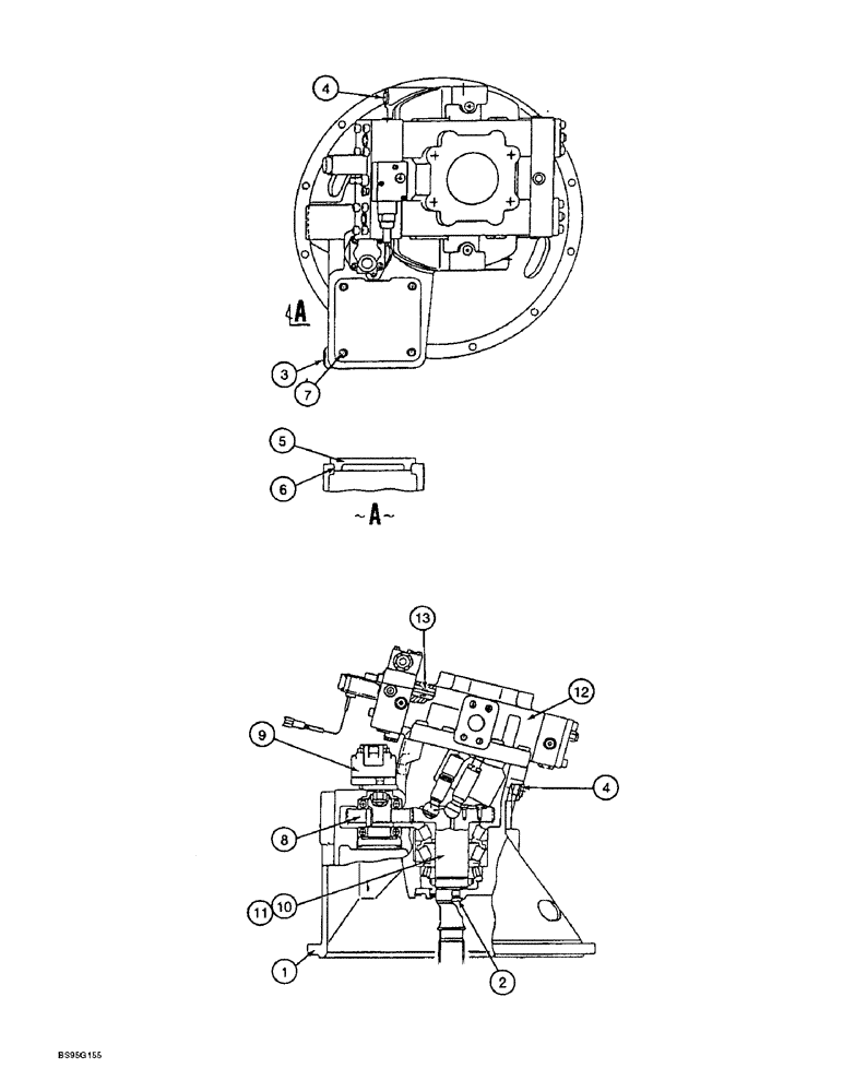
ASSEMBLY - hydraulic, includes: Refs. 1 - 13

1шт.

1

NSS

NOT SOLD SEPARAT

HOUSING - hydraulic pump

1шт.

2

NSS

NOT SOLD SEPARAT

PLUG - port

1шт.

3

NSS

NOT SOLD SEPARAT

PLUG - port

1шт.

4

NSS

NOT SOLD SEPARAT

PLUG - port

2шт.

5

NSS

NOT SOLD SEPARAT

COVER - access

1шт.

6

155186A1

O-RING

- cover

1шт.

7

861-12025

HEX SOC SCREW,M12 x 25mm, Cl 12.9

SCREW - hex socket, 12 - 1.75 x 25 mm, class 12.9

4шт.

8

NSS

NOT SOLD SEPARAT

GEAR SUBASSEMBLY - idler, parts list Figure 8-166

1шт.

9

155834A1

PUMP, HYDRAULIC

PUMP ASSEMBLY - pilot gear, parts list Figure 8-166

1шт.

10

163573A1

ROTOR ASSY.

PUMP ASSEMBLY - piston, gear driven, parts list Figure 8-162

1шт.

11

163571A1

ROTOR ASSY.

PUMP ASSEMBLY - piston, shaft driven, parts list Figure 8-164

1шт.

12

NSS

NOT SOLD SEPARAT

CONTROLLER ASSEMBLY - pump, parts list Figure 8-168 - 8-174

1шт.

13

163875A1

SPRING

ASSEMBLY - control, parts list Figure 8-170

1шт.

Выбрано товаров: 14