Запчасти Case 9060B (8-196) - 163643A1 AND 171225A1 CONTROL VALVES, 163975A1 PILOT VALVE (08) - HYDRAULICS

Схема запчастей Case 9060B - (8-196) - 163643A1 AND 171225A1 CONTROL VALVES, 163975A1 PILOT VALVE (08) - HYDRAULICS
6
5
2
7
4
3
1
FIT
1:1
100%

Артикул

Название

Примечание

Количество

163643A1

VALVE

ASSEMBLY - control, P.I.N. EAC0601026, parts list Figures 8-178 thru 8-198, includes: Refs. 1 - 7

1шт.

171225A1

VALVE

ASSEMBLY - control, parts list Figures 8-178 thru 8-198, includes: Refs. 1 - 7, Start Serial: EAC0601027

1шт.

163975A1

VALVE

ASSEMBLY - pilot, includes: Refs. 1 - 7

1шт.

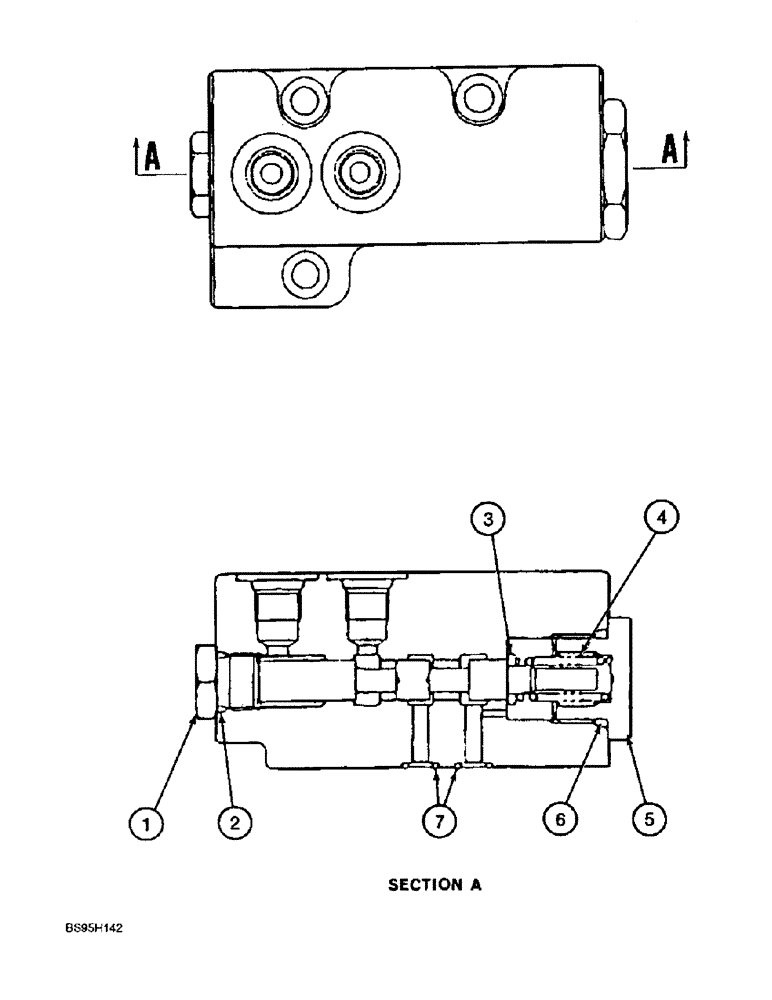
1

157348A1

PLUG

- port

1шт.

2

154475A1

O-RING

- plug

1шт.

3

164489A1

SPRING SEAT

SEAT - spring

1шт.

4

164499A1

SPRING

- compression

1шт.

5

164456A1

PLUG

- special

1шт.

6

154503A1

O-RING

- plug

1шт.

7

154455A1

O-RING

- passage

2шт.

Выбрано товаров: 10