Запчасти Case 9060B (2-14) - COLD START SYSTEM (02) - ENGINE

Схема запчастей Case 9060B - (2-14) - COLD START SYSTEM (02) - ENGINE
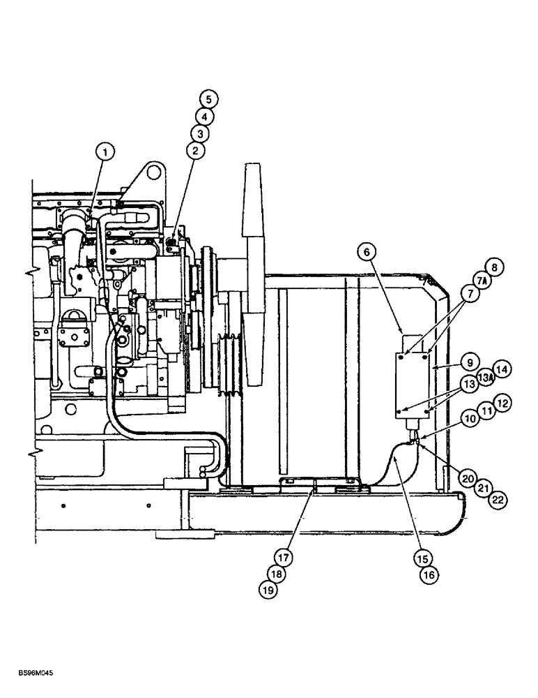
2
18
7
11
12
20
3
22
17
15
10
19
9
13a
6
16
8
13
4
14
5
1
7a
21
FIT
1:1
100%

Артикул

Название

Примечание

Количество

1

170934A1

TUBE

NOZZLE ASSEMBLY - cold start, component parts not serviced separately

1шт.

2

173447A1

SWITCH

- temperature, circuit breaking, uses existing engine hardware

1шт.

3

173226A1

CONNECTOR, ELEC

CONNECTOR - special

1шт.

4

173227A1

TERMINAL CONNECTOR

TERMINAL - electrical

2шт.

5

170937A1

SEAL

- tube

2шт.

6

170935A1

START SPRAY FLUID

CONTAINER - ether

1шт.

7

627-8016

BOLT,Hex, M8 x 1.25 x 16mm, Cl 10.9, Full Thd

- hex, full threads, 8 - 1.25 x 16 mm, class 10.9

2шт.

7a

892-11008

LOCK WASHER,8mm ID

WASHER, LOCK, M8

2шт.

9

173445A1

VALVE

ASSEMBLY - solenoid, ether start, component parts not serviced separately

1шт.

10

173226A1

CONNECTOR, ELEC

CONNECTOR - special

1шт.

11

173227A1

TERMINAL CONNECTOR

TERMINAL - electrical

2шт.

12

170937A1

SEAL

- tube

2шт.

13

627-6016

BOLT,Hex, M6 x 1 x 16mm, Cl 10.9, Full Thd

- hex, full threads, 6 - 1.0 x 16 mm, class 10.9

2шт.

13a

892-11006

LOCK WASHER,M6

WASHER, LOCK, M6

2шт.

14

895-11006

WASHER,6.6mm ID x 12mm OD x 1.6mm Thk

2шт.

15

170933A1

HOSE,3.17 mm ID x 3657.60 mm

- 3657 mm (144 inch) long, valve assembly to nozzle assembly

1шт.

16

170938A1

ELBOW

- 90 degree, compression

1шт.

17

150860A1

COLLAR

BRACKET - support

5шт.

18

840-168

SCREW,Pan, M6 x 1 x 8mm, Cl 4.8

- machine, pan Phillips, 6 - 1.0 x 8 mm

5шт.

19

170308A1

BAND

STRAP - tie

5шт.

20

173225A1

CONNECTOR, ELEC

CONNECTOR - special

1шт.

21

170936A1

TERMINAL CONNECTOR

TERMINAL - electrical

2шт.

22

170937A1

SEAL

- tube

2шт.

8

895-11008

WASHER,9mm ID x 16mm OD x 1.6mm Thk

- flat, 9 x 17 x 1.6 mm

2шт.

Выбрано товаров: 24