Запчасти Case 9060B (9-006) - TURNTABLE AND WALKWAYS (09) - CHASSIS

Схема запчастей Case 9060B - (9-006) - TURNTABLE AND WALKWAYS (09) - CHASSIS
13
9
6
16
18
13
14
6
6
6
14
13
14
6
3
15
11
6
10
1
13
6
17
12
14
14
12
12
5
5
13
2
13
12
12
6
12
8
14
7
FIT
1:1
100%

Артикул

Название

Примечание

Количество

171342A1

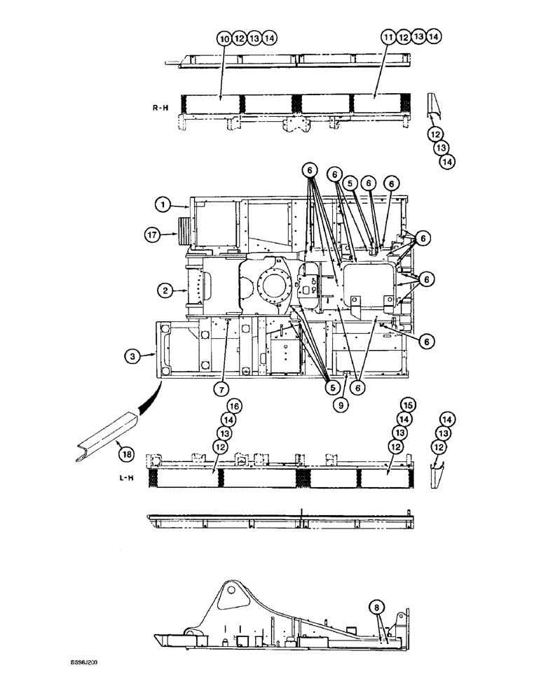
FRAME ASSY

TURNTABLE ASSEMBLY - excavator, includes: Refs. 1 - 3

1шт.

1

NSS

NOT SOLD SEPARAT

PLATFORM - turntable, right-hand

1шт.

2

NSS

NOT SOLD SEPARAT

FRAME - boom mounting, center

1шт.

3

NSS

NOT SOLD SEPARAT

PLATFORM - turntable, left-hand

1шт.

5

829-1308

NUT,M8, Cl 10

- hex, 8 mm - 1.25, Cl 10 (Weld on)

6шт.

6

158918A1

SPECIAL NUT

- special (weld on)

39шт.

7

829-1306

NUT,M6, Cl 10

- hex, 6 mm - 1.0, class 10 (Weld on)

1шт.

8

829-1312

NUT,M12 x 1.75, Cl 10

- hex, 12 mm - 1.75, class 10 (Weld on)

8шт.

9

829-1310

NUT,M10, Cl 10

- hex, 10 mm - 1.5, class 10.9 (Weld on)

1шт.

10

170853A1

PLATFORM

WALKWAY - turntable, front, right-hand

1шт.

11

170129A1

GRATING

WALKWAY - turntable, rear, right-hand

1шт.

12

627-12030

BOLT,Hex, M12 x 1.75 x 30mm, Cl 10.9, Full Thd

- hex, full threads, 12 - 1.75 x 30 mm, class 10.9

26шт.

12

627-12040

BOLT,Hex, M12 x 1.75 x 40mm, Cl 10.9, Full Thd

26шт.

13

150900A1

WASHER

- flat, 12 mm, used on mode; P.I.N. EAC0601026 only

26шт.

13

150811A1

WASHER

- flat, special, 12 mm, Start Serial: EAC0601027

26шт.

14

892-11012

LOCK WASHER,M12

WASHER, LOCK, M12

26шт.

15

170129A1

GRATING

WALKWAY - turntable, rear, left-hand

1шт.

16

170131A1

GRATING

WALKWAY - turntable, front, left-hand

1шт.

17

171224A1

STEP

- operators

1шт.

18

171750A1

RAIL

GUARD - formed angle iron

1шт.

Repair guard used on turntable sides. Guard is long enough to repair any side of the turntable, cut and use the required length for the damaged side.

1шт.

Выбрано товаров: 21