Запчасти Case 9060B (9-014) - UPPER STRUCTURE, *P.I.N. EAC0601026 ONLY (09) - CHASSIS

Схема запчастей Case 9060B - (9-014) - UPPER STRUCTURE, *P.I.N. EAC0601026 ONLY (09) - CHASSIS
6
20
2
69
22
62
16
53
39
32
14
44
10
55
10
24
11
31
49
52
40
38
67
1
29
60
7
2a
41
72
64
30
56
57
1
13
38
11
61
50
11
43
3
2a
55
37
65
26
34
8
68
19
15
46
71
33
36
28
35
25
27
54
12
38
23
55
70
4
1
66
5
47
18
63
58
48
45
9
10
56
58
42
21
FIT
1:1
100%

Артикул

Название

Примечание

Количество

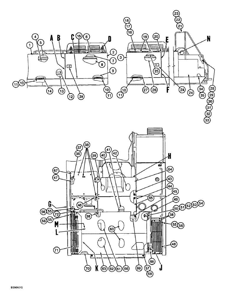
1

170379A1

DOOR

- left-hand, front

1шт.

2

170376A1

DOOR

- left-hand, rear

1шт.

2a

162434A1

LOCK

- door

2шт.

3

170390A1

DOOR

- right-hand, rear

1шт.

4

170381A1

NOISE PROTECTION

INSULATION - acoustic

1шт.

5

170380A1

NOISE PROTECTION

INSULATION - acoustic

1шт.

6

171067A1

SEAL

STRIP - weather, rubber

2шт.

7

170507A1

NOISE PROTECTION

INSULATION - acoustic

1шт.

8

170375A1

NOISE PROTECTION

INSULATION - acoustic

1шт.

9

170509A1

NOISE PROTECTION

INSULATION - acoustic

1шт.

10

159101A1

STAY

HOLDER - door

3шт.

11

153181A1

COTTER PIN

CLIP - hair pin

3шт.

12

170377A1

NOISE PROTECTION

INSULATION - acoustic

1шт.

13

162436A1

NOISE PROTECTION

INSULATION - acoustic

1шт.

14

170378A1

NOISE PROTECTION

INSULATION - acoustic

1шт.

15

171071A1

SEAL

STRIP - weather, rubber

1шт.

16

152819A1

HINGE

- hood

3шт.

17

627-12025

BOLT,Hex, M12 x 1.75 x 25mm, Cl 10.9, Full Thd

- hex, full threads, 12 - 1.75 x 25 mm, class 10.9

9шт.

18

150811A1

WASHER

- flat, special, 12 mm

9шт.

19

170506A1

SEAL

STRIP - weather, rubber

2шт.

20

171072A1

SEAL

STRIP - weather, rubber

1шт.

21

171069A1

BRACE

RAIL - hand, grab

1шт.

22

627-12030

BOLT,Hex, M12 x 1.75 x 30mm, Cl 10.9, Full Thd

- hex, full threads, 12 - 1.75 x 30 mm, class 10.9

5шт.

23

150811A1

WASHER

- flat, special, 12 mm

5шт.

24

171070A1

COVER

- oil cooler

1шт.

25

170387A1

NOISE PROTECTION

INSULATION - acoustic

1шт.

26

170389A1

NOISE PROTECTION

INSULATION - acoustic

1шт.

27

170388A1

NOISE PROTECTION

INSULATION - acoustic

1шт.

28

171075A1

SEAL

- cushion

1шт.

29

171074A1

BRACE

STIFFENER - support

1шт.

30

171034A1

SPACER

- tubular

1шт.

31

627-12045

BOLT,Hex, M12 x 1.75 x 45mm, Cl 10.9, Full Thd

- hex, full threads, 12 - 1.75 x 45 mm, class 10.9

4шт.

32

892-11012

LOCK WASHER,M12

WASHER, LOCK, M12

4шт.

33

895-11012

WASHER,13.5mm ID x 24mm OD x 2.5mm Thk

- flat, 13.5 x 24 x 2.5 mm

4шт.

34

627-12030

BOLT,Hex, M12 x 1.75 x 30mm, Cl 10.9, Full Thd

- hex, full threads, 12 - 1.75 x 30 mm, class 10.9

8шт.

35

150811A1

WASHER

- flat, special, 12 mm

8шт.

36

627-12030

BOLT,Hex, M12 x 1.75 x 30mm, Cl 10.9, Full Thd

- hex, full threads, 12 - 1.75 x 30 mm, class 10.9

1шт.

37

150811A1

WASHER

- flat, special, 12 mm

1шт.

38

152718A1

BOLT,Spcl, Hex Wshr, M12 x 25mm, Cl 10.9

- special

70шт.

39

170366A1

NOISE PROTECTION

INSULATION - acoustic

1шт.

40

170371A1

NOISE PROTECTION

INSULATION - acoustic

1шт.

41

170370A1

NOISE PROTECTION

INSULATION - acoustic

1шт.

42

170367A1

NOISE PROTECTION

INSULATION - acoustic

1шт.

43

170355A1

BRACKET

- upper structure

1шт.

44

170354A1

BRACKET

- upper structure

1шт.

45

170353A1

BRACE

STAY - upper structure

1шт.

46

170348A1

FRAME

- upper structure

1шт.

47

171036A1

FRAME

- upper structure

1шт.

48

171041A1

FRAME

- upper structure

1шт.

49

171073A1

BAR

- torsion

1шт.

50

173858A1

BAR

- torsion

1шт.

51

170344A1

BRACKET

- upper structure

1шт.

52

627-12045

BOLT,Hex, M12 x 1.75 x 45mm, Cl 10.9, Full Thd

- hex, full threads, 12 - 1.75 x 45 mm, class 10.9

2шт.

53

892-11012

LOCK WASHER,M12

WASHER, LOCK, M12

2шт.

54

895-11012

WASHER,13.5mm ID x 24mm OD x 2.5mm Thk

- flat, 13.5 x 24 x 2.5 mm

2шт.

55

159091A1

STOP

PER - rubber

3шт.

57

627-12035

BOLT,Hex, M12 x 1.75 x 35mm, Cl 10.9, Full Thd

- hex, full threads, 12 - 1.75 x 35 mm, class 10.9, was 170359A1

2шт.

58

150811A1

WASHER

- flat, special, 12 mm

2шт.

60

170374A1

NOISE PROTECTION

INSULATION - foam rubber

2шт.

61

171065A1

NOISE PROTECTION

INSULATION - foam rubber

1шт.

62

171065A1

NOISE PROTECTION

INSULATION - foam rubber

1шт.

63

171042A1

HOOD

- engine access

1шт.

64

170368A1

COVER

- top

1шт.

65

170369A1

COVER

- top

1шт.

66

170351A1

COVER

- upper structure

1шт.

67

170365A1

COVER

- upper structure

1шт.

68

171039A1

FRAME

- upper structure

1шт.

69

171039A1

FRAME

- upper structure

1шт.

70

171038A1

FRAME

- upper structure

1шт.

71

171040A1

FRAME

- upper structure

1шт.

72

171037A1

FRAME

- upper structure

1шт.

56

829-1410

NUT,M10 x 1.5, Cl 10.9

3шт.

Выбрано товаров: 0