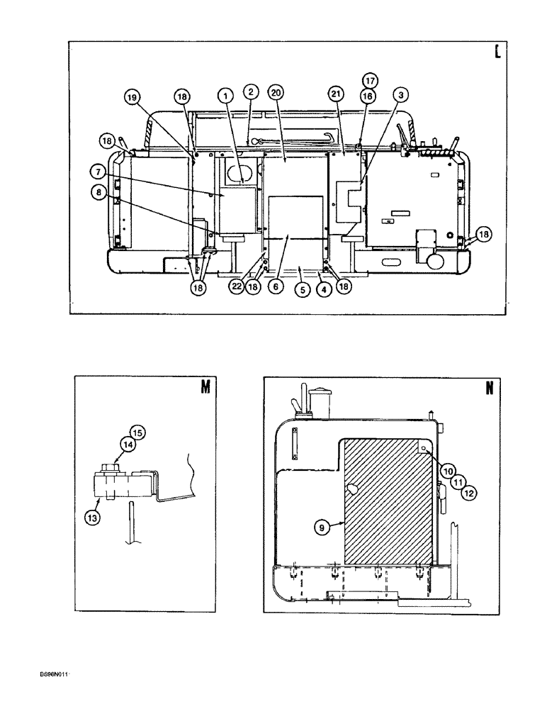
Запчасти Case 9060B (9-034) - UPPER STRUCTURE - CONTINUED, *P.I.N. EAC06010126 ONLY (09) - CHASSIS

Схема запчастей Case 9060B - (9-034) - UPPER STRUCTURE - CONTINUED, *P.I.N. EAC06010126 ONLY (09) - CHASSIS
14
21
13
18
17
6
2
1
22
11
18
19
7
3
8
18
9
20
18
18
15
12
4
16
18
10
5
FIT
1:1
100%

Артикул

Название

Примечание

Количество

1

171058A1

SEAL

- rubber

1шт.

2

171066A1

SEAL

STRIP - weather, rubber

1шт.

3

170496A1

NOISE PROTECTION

INSULATION - acoustic

1шт.

4

171061A1

SEAL

INSULATION - acoustic

1шт.

5

171057A1

NOISE PROTECTION

INSULATION - acoustic

1шт.

6

171056A1

NOISE PROTECTION

INSULATION - acoustic

1шт.

7

171055A1

NOISE PROTECTION

INSULATION - acoustic

1шт.

8

162392A1

SEAL

- cushion

1шт.

9

171078A1

NOISE PROTECTION

INSULATION - acoustic

1шт.

10

627-12020

BOLT,Hex, M12 x 1.75 x 20mm, Cl 10.9, Full Thd

- hex, full threads, 12 - 1.75 x 20 mm, class 10.9

1шт.

11

892-11012

LOCK WASHER,M12

WASHER, LOCK, M12

1шт.

12

895-11012

WASHER,13.5mm ID x 24mm OD x 2.5mm Thk

- flat, 13.5 x 24 x 2.5 mm

1шт.

13

170383A1

BRACKET

- upper structure

1шт.

14

627-12040

BOLT,Hex, M12 x 1.75 x 40mm, Cl 10.9, Full Thd

2шт.

15

150811A1

WASHER

- flat, special, 12 mm

2шт.

16

170363A1

SHIM

- special

1шт.

17

153181A1

COTTER PIN

CLIP - hair pin

1шт.

18

152718A1

BOLT,Spcl, Hex Wshr, M12 x 25mm, Cl 10.9

- special

70шт.

19

171248A1

COVER

- center, upper structure

1шт.

20

171244A1

COVER

- upper structure

1шт.

21

171077A1

COVER

- upper structure

1шт.

22

171246A1

COVER

- center, upper structure

1шт.

Выбрано товаров: 22