Запчасти Case 9060B (9-036) - UPPER STRUCTURE - CONTINUED, *P.I.N EAC0601027 AND AFTER (09) - CHASSIS

Схема запчастей Case 9060B - (9-036) - UPPER STRUCTURE - CONTINUED, *P.I.N EAC0601027 AND AFTER (09) - CHASSIS
6
18
21
22
18
23
15
2
14
7
1
14
16
14
3
11
4
20
9
5
17
18
19
12
13
8
10
FIT
1:1
100%

Артикул

Название

Примечание

Количество

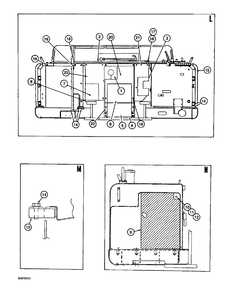
1

171058A1

SEAL

- rubber, if used

1шт.

2

171066A1

SEAL

STRIP - weather, rubber

1шт.

3

171245A1

NOISE PROTECTION

INSULATION - acoustic

1шт.

4

171061A1

SEAL

INSULATION - acoustic

1шт.

5

171057A1

NOISE PROTECTION

INSULATION - acoustic

1шт.

6

171056A1

NOISE PROTECTION

INSULATION - acoustic

1шт.

7

171247A1

NOISE PROTECTION

INSULATION - acoustic

1шт.

8

162392A1

SEAL

- cushion

1шт.

9

171078A1

NOISE PROTECTION

INSULATION - acoustic

1шт.

10

627-12020

BOLT,Hex, M12 x 1.75 x 20mm, Cl 10.9, Full Thd

- hex, full threads, 12 - 1.75 x 20 mm, class 10.9

1шт.

11

892-11012

LOCK WASHER,M12

WASHER, LOCK, M12

1шт.

12

895-11012

WASHER,13.5mm ID x 24mm OD x 2.5mm Thk

- flat, 13.5 x 24 x 2.5 mm

1шт.

13

170383A1

BRACKET

- upper structure

1шт.

14

162278A1

BOLT

BOLT - flange head, special

6шт.

15

170494A1

SEAL

STRIP - weather, rubber

1шт.

16

171239A1

WASHER

SHIM - plate

1шт.

17

153181A1

COTTER PIN

CLIP - hair pin

1шт.

18

152718A1

BOLT,Spcl, Hex Wshr, M12 x 25mm, Cl 10.9

- special

70шт.

19

171248A1

COVER

- center, upper structure

1шт.

20

171249A1

COVER

- upper structure

1шт.

21

171244A1

COVER

- upper structure

1шт.

22

171246A1

COVER

- center, upper structure

1шт.

23

171226A1

COVER

- upper structure

1шт.

Выбрано товаров: 23