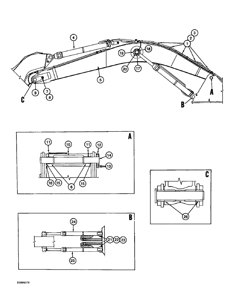
Запчасти Case 9060B (9-080) - BOOM, MOUNTING PINS, BOOM AND ARM CYLINDERS (09) - CHASSIS

Схема запчастей Case 9060B - (9-080) - BOOM, MOUNTING PINS, BOOM AND ARM CYLINDERS (09) - CHASSIS
15
23
22
21
8
5
18
2
12
1
6
14
10
15
24
26
11
16
25
20
7
11
3
9
17
13
19
4
FIT
1:1
100%

Артикул

Название

Примечание

Количество

1

151497A1

CLAMP

- lubrication line, triple type

5шт.

3

892-11008

LOCK WASHER,8mm ID

WASHER, LOCK, M8

10шт.

4

171087A1

CYLINDER ASSY.

CYLINDER ASSEMBLY - 180 (7-1/8) ID x 1910 mm (75-3/16 inch) stroke, arm, parts list Figure 8-144

1шт.

5

171702A1

BOOM

- excavator, M7.1 (23 ft 3-5/8 inch) long, Serial Range: -EAC0601059

1шт.

5

171708A1

BOOM

- excavator, M7.1 (23 ft 3-5/8 inch) long, Start Serial: EAC0601059

1шт.

6

170108A1

BUSHING

- boom

2шт.

7

628-20030

SCREW,Hex, M20 x 2.5 x 30mm, Cl 10.9, Full Thd

BOLT - hex, full threads, 20 - 2.5 x 30 mm, class 10.9

1шт.

8

170219A1

WASHER

- special

1шт.

9

170169A1

PIN

- arm attaching

1шт.

10

153630A1

LUBE NIPPLE

FITTING - grease, straight

1шт.

11

153631A1

LUBE NIPPLE,1/8"-27 NPT

FITTING - grease, 45 degree

2шт.

12

514-1501

BOLT,Hex, M30 x 2 x 260mm, Cl 10.9

- hex, 30 - 2.0 x 260 mm, class 10.9

1шт.

13

825-11330

NUT,M30 x 2, Cl 8

- hex, 30 mm - 2

2шт.

14

170107A1

PIN

- boom attaching

1шт.

15

150331A1

SEAL

SEAL - dust

2шт.

16

151447A1

BLOCK

SHIM - .05 inch thick, boom, Serial Range: -EAC0601059

1шт.

16

171748A1

SHIM

- .05 inch thick, boom, Start Serial: EAC0601059

1шт.

17

153812A1

PIN

- attaching, boom cylinder

1шт.

18

827-24200

BOLT,Hex, M24 x 3 x 200mm, Cl 10.9

- hex, 24 - 3.0 x 200 mm, class 10.9

2шт.

19

153808A1

RING, LOCKING

COLLAR - pin retaining

2шт.

20

829-13424

NUT,M24 x 2, Cl 10

- hex, 24 mm - 2.0, class 10

4шт.

21

170176A1

PIN

- special

2шт.

22

628-20030

SCREW,Hex, M20 x 2.5 x 30mm, Cl 10.9, Full Thd

BOLT - hex, full threads, 20 - 2.5 x 30 mm, class 10.9

2шт.

23

170219A1

WASHER

- special

2шт.

24

171086A1

CYLINDER ASSY.

CYLINDER ASSEMBLY - 160 (6-5/16) ID x 1580 mm (62-3/16 inch) stroke, boom, left-hand, parts list Figure 8-1420

1шт.

25

171085A1

CYLINDER ASSY.

CYLINDER ASSEMBLY - 160 (6-5/16) ID x 1580 mm (62-3/16 inch) stroke, boom, right-hand, parts list Figure 8-140

1шт.

26

151357A1

BUSHING

-, Serial Range: Boom-arm

2шт.

2

627-8030

BOLT,Hex, M8 x 1.25 x 30mm, Cl 10.9, Full Thd

Full Thd Hex, M8 x 30, 10.9

10шт.

Выбрано товаров: 28