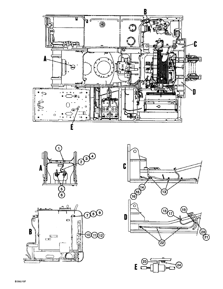
Запчасти Case 9060B (4-11A) - ELECTRICAL PARTS OUTSIDE CAB - CONTINUED, CLAMPS AND HARDWARE, PIN EAC0601027 AND AFTER (04) - ELECTRICAL SYSTEMS

Схема запчастей Case 9060B - (4-11A) - ELECTRICAL PARTS OUTSIDE CAB - CONTINUED, CLAMPS AND HARDWARE, PIN EAC0601027 AND AFTER (04) - ELECTRICAL SYSTEMS
11
14
12
3
20
17
2
10
1
13
8
6
7
19
9
5
24
16
22
15
18
4
23
21
FIT
1:1
100%

Артикул

Название

Примечание

Количество

1

515-21159

CLAMP,15.9mm ID, 7.1mm Bolt Hole, P Type

- P-type, 5/8 inch ID

7шт.

2

170308A1

BAND

STRAP - tie

1шт.

3

150860A1

COLLAR

BRACKET - support

1шт.

4

840-168

SCREW,Pan, M6 x 1 x 8mm, Cl 4.8

- machine, pan Phillips, 6 - 1.0 x 8 mm

1шт.

5

627-8016

BOLT,Hex, M8 x 1.25 x 16mm, Cl 10.9, Full Thd

- hex, full threads, 8 - 1.25 x 16 mm, class 10.9

2шт.

6

892-11008

LOCK WASHER,8mm ID

WASHER, LOCK, M8

2шт.

7

170308A1

BAND

STRAP - tie

2шт.

8

150860A1

COLLAR

BRACKET - support

2шт.

9

840-168

SCREW,Pan, M6 x 1 x 8mm, Cl 4.8

- machine, pan Phillips, 6 - 1.0 x 8 mm

2шт.

10

627-10025

BOLT,Hex, M10 x 1.5 x 25mm, Cl 10.9, Full Thd

- hex, full threads, 10 - 1.5 x 25 mm, class 10.9

2шт.

11

892-11010

LOCK WASHER,M10

2шт.

13

515-21159

CLAMP,15.9mm ID, 7.1mm Bolt Hole, P Type

- P-type, 5/8 inch ID

3шт.

14

515-21159

CLAMP,15.9mm ID, 7.1mm Bolt Hole, P Type

- P-type, 5/8 inch ID

1шт.

15

515-21222

CLAMP,7/8", Insul, 1/4" Bolt

P-type 7/8", Insul, 1/4" Bolt

1шт.

16

159602A1

BOLT,Sems, Hex, M6 x 16mm

BOLT - special

1шт.

17

515-21159

CLAMP,15.9mm ID, 7.1mm Bolt Hole, P Type

- P-type, 5/8 inch ID

1шт.

18

159602A1

BOLT,Sems, Hex, M6 x 16mm

BOLT - special

1шт.

19

515-21222

CLAMP,7/8", Insul, 1/4" Bolt

P-type 7/8", Insul, 1/4" Bolt

1шт.

20

171547A1

CLAMP

- tube

1шт.

21

159602A1

BOLT,Sems, Hex, M6 x 16mm

BOLT - special

1шт.

22

515-21222

CLAMP,7/8", Insul, 1/4" Bolt

P-type 7/8", Insul, 1/4" Bolt

3шт.

23

158962A1

CLIP

- harness

1шт.

24

156559A1

BOLT,High Strength, Hex, M6 x 12mm, W/ LW

BOLT - hex, special

1шт.

12

895-11010

WASHER,11mm ID x 20mm OD x 2mm Thk

- flat, 11 x 20 x 2 mm

2шт.

Выбрано товаров: 24