Запчасти Case 9060B (4-18) - BATTERIES AND MOUNTING (04) - ELECTRICAL SYSTEMS

Схема запчастей Case 9060B - (4-18) - BATTERIES AND MOUNTING (04) - ELECTRICAL SYSTEMS
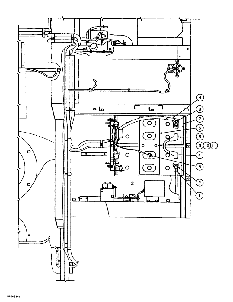
8
4
1
10
9
7
6
2
11
5
3
4
FIT
1:1
100%

Артикул

Название

Примечание

Количество

1

150366A1

CAP

COVER - terminal

1шт.

2

158403A1

TERMINAL CONNECTOR

CLAMP - terminal, positive terminal

2шт.

3

170051A1

SENSOR

- low electrolyte

1шт.

4

150360A1

CAP

COVER - terminal, rubber boot

2шт.

5

150364A1

CAP

COVER - terminal, rubber boot

1шт.

6

150810A1

SPECIAL RING

BRACKET - battery retainer

1шт.

7

170052A1

DRY BATTERY

- 12 volt, 780 amps

2шт.

8

150455A1

TERMINAL CONNECTOR

CLAMP - terminal, negative terminal

2шт.

9

150789A1

STUD,M10 x 280mm

STUD - special, 10 - 1.5 x 280 mm, battery hold down

2шт.

10

150409A1

WASHER

- flat, special, 10.5 x 21 x 3.2 mm

2шт.

11

829-1410

NUT,M10 x 1.5, Cl 10.9

2шт.

Выбрано товаров: 0