Запчасти Case 9060B (4-20) - WORKING LAMPS (04) - ELECTRICAL SYSTEMS

Схема запчастей Case 9060B - (4-20) - WORKING LAMPS (04) - ELECTRICAL SYSTEMS
9
12
8
2
5
11
3
6
10
1
4
7
FIT
1:1
100%

Артикул

Название

Примечание

Количество

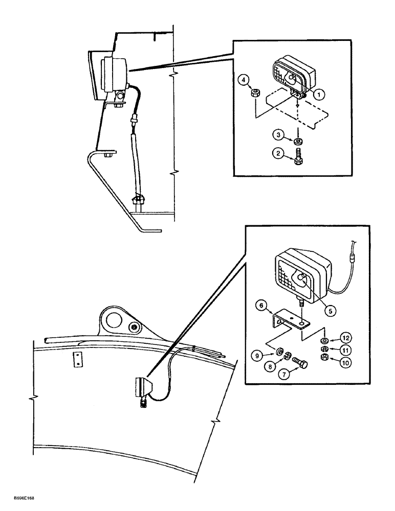
159600A1

LAMP, WORK

LAMP ASSEMBLY - work, on front of upper structure

1шт.

See Figure 4-14 for wiring harness.

1шт.

1

152809A1

BULB

LAMP - sealed beam

1шт.

2

627-10020

BOLT,Hex, M10 x 1.5 x 20mm, Cl 10.9, Full Thd

- hex, full threads, 10 - 1.5 x 20 mm, class 10.9

1шт.

159598A1

PORTABLE LAMP

LAMP ASSEMBLY - work, on boom

1шт.

5

152812A1

BULB

LAMP - sealed beam

1шт.

6

150834A1

BRACKET

- boom, lamp mounting

1шт.

7

627-16035

BOLT,Hex, M16 x 2 x 35mm, Cl 10.9, Full Thd

1шт.

8

892-11016

LOCK WASHER,16.4mm ID x 27.4mm OD x 5mm Thk

WASHER - lock, 16 mm

1шт.

9

896-11016

WASHER,17.5mm ID x 30mm OD x 4mm Thk

1шт.

10

829-1414

NUT,M14, Cl 10

- hex, 14 mm - 2.0, class 10

1шт.

11

892-11014

LOCK WASHER,14.5mm ID x 24.1mm OD x 4.5mm Thk

WASHER - lock, 14 mm

1шт.

12

896-11014

WASHER,15.5mm ID x 28mm OD x 3mm Thk

- flat, 15.5 x 28 x 3 mm, hardened

1шт.

4

829-1410

NUT,M10 x 1.5, Cl 10.9

1шт.

3

895-11010

WASHER,11mm ID x 20mm OD x 2mm Thk

- flat, 11 x 20 x 2 mm

2шт.

Выбрано товаров: 15