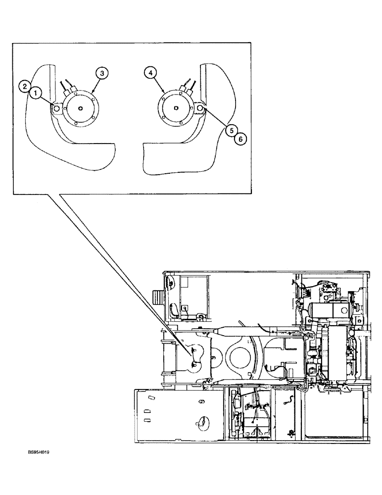
Запчасти Case 9060B (4-28) - ELECTRIC HORNS (04) - ELECTRICAL SYSTEMS

Схема запчастей Case 9060B - (4-28) - ELECTRIC HORNS (04) - ELECTRICAL SYSTEMS
4
1
6
3
2
5
FIT
1:1
100%

Артикул

Название

Примечание

Количество

1

627-8020

BOLT,Hex, M8 x 1.25 x 20mm, Cl 10.9, Full Thd

- hex, full threads, 8 - 1.25 x 20 mm, class 10.9

1шт.

2

892-11008

LOCK WASHER,8mm ID

WASHER, LOCK, M8

1шт.

3

159948A1

HORN

- electric

1шт.

4

159949A1

HORN

- electric

1шт.

5

627-8020

BOLT,Hex, M8 x 1.25 x 20mm, Cl 10.9, Full Thd

- hex, full threads, 8 - 1.25 x 20 mm, class 10.9

1шт.

6

892-11008

LOCK WASHER,8mm ID

WASHER, LOCK, M8

1шт.

Выбрано товаров: 0