Запчасти Case 9060B (8-036) - PILOT PRESSURE DISTRIBUTION LINES (08) - HYDRAULICS

Схема запчастей Case 9060B - (8-036) - PILOT PRESSURE DISTRIBUTION LINES (08) - HYDRAULICS
8
16
23
23
10
8
13
6
25
29
28
7
14
20
26
15
2
30
19
18
22
21
24
11
1
4
13
27
3
9
5
28
18
12
17
FIT
1:1
100%

Артикул

Название

Примечание

Количество

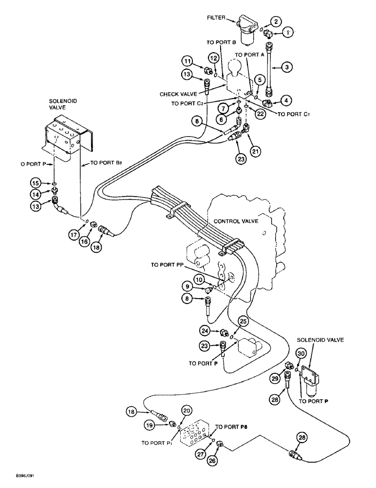
1

157935A1

ELBOW

- 90 degree, special, 1/2 x 3/8 inch, includes: Ref. 2

1шт.

2

154487A1

O-RING

- elbow

1шт.

3

163108A1

HOSE,9.50 mm ID x 320.00 mm

pilot pressure supply line (filter discharge port to check valve port "A") 9.50 mm ID x 320.00 mm

1шт.

4

150916A1

ELBOW,90 Degree, 3/8" O-Ring x 3/8"

- 90 degree, includes: Ref. 5

1шт.

5

154475A1

O-RING

- elbow

1шт.

6

152127A1

HYD CONNECTOR,1/4" NPT O-Ring x 1/4" NPT

ADAPTER - straight, includes: Ref. 7

1шт.

7

154467A1

O-RING,10.8mm ID x 2.4mm Width

- adapter

1шт.

8

159433A1

HOSE ASSY.

HOSE - 2700 mm (106-5/16 inch) long, pilot pressure supply line (check valve port "C2" to main control valve port "PP")

1шт.

9

150913A1

ELBOW,90 Degree, 1/4" O-Ring x 1/4"

- 90 degree, includes: Ref. 10

1шт.

10

154467A1

O-RING,10.8mm ID x 2.4mm Width

- elbow

1шт.

11

150916A1

ELBOW,90 Degree, 3/8" O-Ring x 3/8"

- 90 degree, includes: Ref. 12

1шт.

12

154475A1

O-RING

- elbow

1шт.

13

159228A1

HOSE ASSY.

HOSE - 1750 mm (68-7/8 inch) long, check valve port "B" to eight-spool solenoid valve port "P", models without counterweight removal, see Figure 8-200 for models with counterweight removal

1шт.

14

152128A1

HYD CONNECTOR,3/8" NPT O-Ring x 3/8" NPT

ADAPTER - straight, includes: Ref. 15

1шт.

15

154475A1

O-RING

- adapter

1шт.

16

152128A1

HYD CONNECTOR,3/8" NPT O-Ring x 3/8" NPT

ADAPTER - straight, includes: Ref. 17

1шт.

17

154475A1

O-RING

- adapter

1шт.

18

159063A1

HOSE

- 3800 mm (149-5/8 inch) long, pilot pressure supply line (main solenoid valve port "B2" to pressure and return manifold port "P1")

1шт.

19

152128A1

HYD CONNECTOR,3/8" NPT O-Ring x 3/8" NPT

ADAPTER - straight, includes: Ref. 20

1шт.

20

154475A1

O-RING

- adapter

1шт.

21

150913A1

ELBOW,90 Degree, 1/4" O-Ring x 1/4"

- 90 degree, includes: Ref. 22

1шт.

22

154467A1

O-RING,10.8mm ID x 2.4mm Width

- elbow

1шт.

23

157840A1

HOSE ASSY.

HOSE - 4250 mm (167-1/3 inch) long, pilot pressure supply line (check valve port "C1" to swing brake release valve port "P”"

1шт.

24

156554A1

ELBOW

- 90 degree, special, includes: Ref. 25

1шт.

25

154467A1

O-RING,10.8mm ID x 2.4mm Width

- elbow

1шт.

26

152127A1

HYD CONNECTOR,1/4" NPT O-Ring x 1/4" NPT

ADAPTER - straight, includes: Ref. 27

1шт.

27

154467A1

O-RING,10.8mm ID x 2.4mm Width

- adapter

1шт.

28

152514A1

HOSE,63mm ID x 1000mm L

Pilot pressure supply line (Pressure and return manifold port "P8" to single-spool solenoid valve port "P") 63.00 mm ID x 1000.00 mm

1шт.

29

150913A1

ELBOW,90 Degree, 1/4" O-Ring x 1/4"

- 90 degree, includes: Ref. 30

1шт.

30

154467A1

O-RING,10.8mm ID x 2.4mm Width

- elbow

1шт.

Выбрано товаров: 0