Запчасти Case 1280 (188) - HOIST, CROWD, AND TOOL CIRCUITS, CYLINDER HYDRAULIC LINES WITH 9 ( 2.74M) DIPPER (07) - HYDRAULIC SYSTEM

Схема запчастей Case 1280 - (188) - HOIST, CROWD, AND TOOL CIRCUITS, CYLINDER HYDRAULIC LINES WITH 9 ( 2.74M) DIPPER (07) - HYDRAULIC SYSTEM
FIT
1:1
100%

Артикул

Название

Примечание

Количество

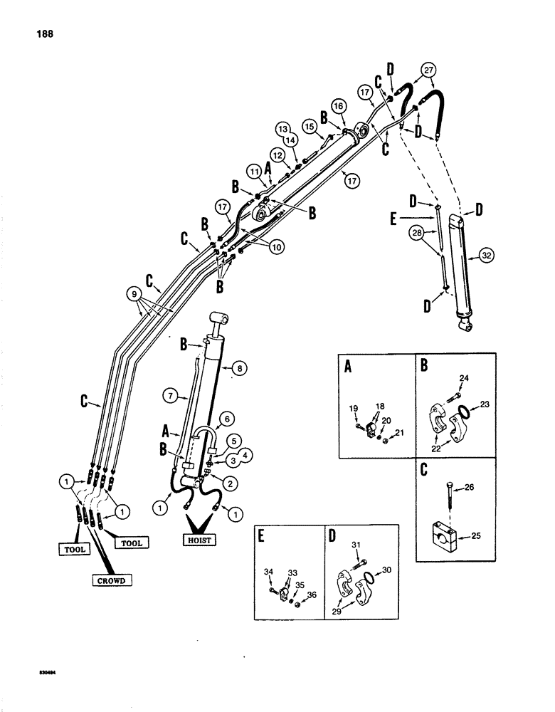
1

S233927

HOSE

- valve to hoist, crowd and tool cylinders, 36" (914 mm) long

6шт.

2

S516517

TUBE,1.25" OD

ELBOW - 45 degree, closed end of cylinder (Replaces 218-5176)

1шт.

Ref. 2 - 5 Replaced by S516517 Tube Assy at S/N 6280657

1шт.

3

S516517

TUBE,1.25" OD

ADAPTER - male, straight (Replaces 218-5069), Includes: Ref. 4

1шт.

4

218-5010

O-RING,0.116" Thk x 1.171" ID, -916, Cl 6, 90 Duro

- adapter

1шт.

5

S516517

TUBE,1.25" OD

REGULATOR - flow, closed end of hoist cylinder (Replaces S109311)

1шт.

6

S516517

TUBE,1.25" OD

- hoist cylinder, closed end (Replaces S515470)

1шт.

7

S513613

TUBE,1.25" OD

- hoist cylinder, rod end

1шт.

8

S956746

CYLINDER

- hoist, parts list Figure 232

1шт.

9

S515956

TUBE ASSY.,1.25" OD x 108.27, 71.46" L

TUBE - crowd and tool cylinders, at rear of boom

4шт.

10

S229986

HOSE ASSY.

HOSE - crowd cylinder, 38" (965 mm) long

2шт.

11

S233817

TUBE,1.25" OD x 26.06, 0.56" L

- crowd cylinder, rod end, rear section

1шт.

12

D56252

FITTING

REGULATOR - flow, rod end of crowd cylinder

1шт.

13

218-5039

HYD CONNECTOR,1-5/8" - 12 Male JIC x 1-5/16" - 12 Male ORB

ADAPTER - male, straight, Includes: Ref. 14

1шт.

14

218-5010

O-RING,0.116" Thk x 1.171" ID, -916, Cl 6, 90 Duro

- adapter

1шт.

15

S237787

TUBE,1.25" OD x 25.72, 0.5" L

- crowd cylinder, rod end, front section

1шт.

16

S956722

CYLINDER

- crowd, parts list Figure 234

1шт.

17

S515606

TUBE ASSY.,1.25" OD x 122.05, 8.31" L

TUBE - tool cylinder, at front of boom

2шт.

18

S106606

CLAMP

- tube, at cylinder

4шт.

19

813-10040

BOLT,Hex, M10 x 1.5 x 40mm, Cl 8.8

- hex head, 10 mm - 1.5 x 40 mm (Grade 8.8)

2шт.

20

892-1010

LOCK WASHER,M10

WASHER - lock, 10 mm

2шт.

21

825-1010

NUT,M10, Cl 8

- hex, 10 mm - 1.5

2шт.

22

A12301

CLAMP,Half

SPLIT FLANGE - tube

18шт.

23

S6586

O-RING,0.139" Thk x 1.484" ID, -222, Cl 6, 90 Duro

- tube

9шт.

24

113-312

BOLT,Hex, 7/16" - 14 x 1-1/4", Gr 5

- hex head, 7/16" - 14 NC x 1"

36шт.

25

S241558

CLAMP

- tube, at boom

16шт.

26

813-8075

BOLT,Hex, M8 x 1.25 x 75mm, Cl 8.8

- hex head, 8 mm - 1.25 x 75 mm (Grade 8.8)

32шт.

27

S229987

HOSE ASSY.

HOSE - tool cylinder, 60" (1524 mm) long

2шт.

28

S240714

TUBE ASSY.,1.25 mm OD x 1095 mm L

TUBE - tool cylinder, rod end

1шт.

29

A12301

CLAMP,Half

SPLIT FLANGE - tube

14шт.

30

S6586

O-RING,0.139" Thk x 1.484" ID, -222, Cl 6, 90 Duro

- tube

7шт.

31

113-312

BOLT,Hex, 7/16" - 14 x 1-1/4", Gr 5

- hex head, 7/16" - 14 NC x 1"

28шт.

32

S956747

CYLINDER

- tool, parts list Figure 236

1шт.

33

S106606

CLAMP

- tube, at cylinder

2шт.

34

813-10040

BOLT,Hex, M10 x 1.5 x 40mm, Cl 8.8

- hex head, 10 mm - 1.5 x 40 mm (Grade 8.8)

1шт.

35

892-1010

LOCK WASHER,M10

WASHER - lock, 10 mm

1шт.

36

825-1010

NUT,M10, Cl 8

- hex, 10 mm - 1.5

1шт.

Выбрано товаров: 37