Запчасти Case 1280 (062) - THROTTLE AND FUEL SHUTOFF CONTROLS (01) - ENGINE

Схема запчастей Case 1280 - (062) - THROTTLE AND FUEL SHUTOFF CONTROLS (01) - ENGINE
FIT
1:1
100%

Артикул

Название

Примечание

Количество

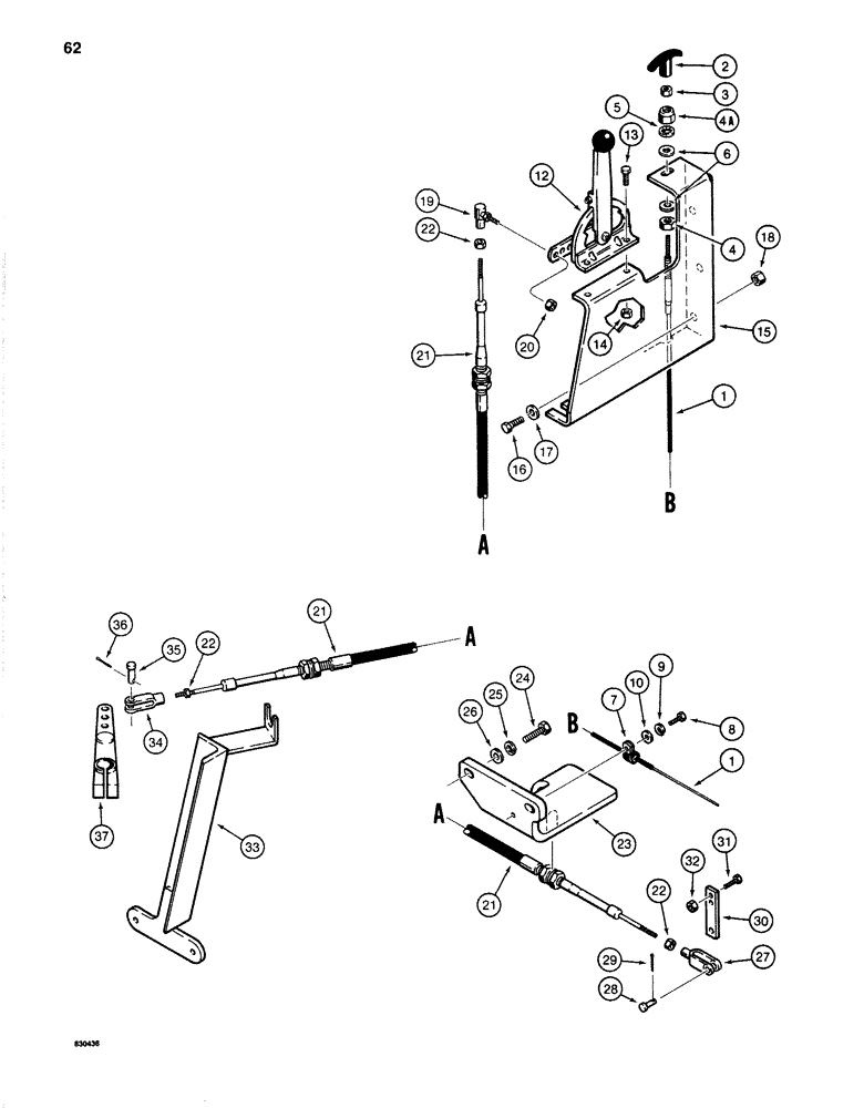
S231430

CABLE

ASSEMBLY - fuel shutoff, Includes: Ref. 1 - 5

1шт.

1

NSS

NOT SOLD SEPARAT

CABLE - fuel shutoff

1шт.

2

L32679

HANDLE

- T-type, service replacement

1шт.

3

129-141

JAM NUT,Jam, 1/4"-20, G5

1шт.

4

25-156

JAM NUT,Jam, 3/8"-24, G5

JAM NUT - 3/8" - 24 NF

1шт.

4a

L32866

SEAL

NUT AND SEAL ASSEMBLY - 3/8" - 24 NF

1шт.

5

193-68

LOCK WASHER,Int Tooth, 3/8"

WASHER, LOCK, Int Tooth, 3/8"

1шт.

6

195-525

WASHER,3/8", SAE

- flat, 3/8", not included with cable

2шт.

7

T41928

CLAMP,3/16", Insul, 1/4" Bolt

- fuel shutoff cable

1шт.

8

113-2

BOLT,Hex, 1/4" - 20 x 5/8", Gr 5

1шт.

9

192-19

LOCK WASHER,Helical Spring, 0.256" ID, CST, ZND

WASHER, LOCK, 1/4"

1шт.

10

195-518

WASHER,1/4", SAE

- flat, 1/4"

1шт.

12

S514567

LEVER

- throttle

1шт.

13

113-3

BOLT,Hex, 1/4" - 20 x 3/4", Gr 5

2шт.

14

86625061

NUT,1/4"-20, GB

NUT - hex, self-locking, 1/4" - 20 NC

2шт.

15

S514582

BRACKET

- throttle lever mounting

1шт.

16

113-207

BOLT,Hex, 3/8" - 16 x 1", Gr 5

3шт.

17

195-104

WASHER,3/8"

- flat, 3/8"

3шт.

18

131-52

NUT,3/8"-16, GC

NUT - hex, self-locking, 3/8" - 16 NC

3шт.

19

A10329

BALL JOINT,1/4" - 28 x 1"

- throttle cable

1шт.

20

131-498

LOCK NUT,1/4"-28, GB

NUT - hex, self-locking, 1/4" - 28 NF

1шт.

21

S238507

CABLE

- throttle

1шт.

22

425-154

JAM NUT,Jam, 1/4"-28, G5

2шт.

23

S515580

BRACKET

- throttle cable, at engine, used with case

1шт.

24

113-208

BOLT,Hex, 3/8" - 16 x 1-1/4", Gr 5

Used with Case engine Hex, 3/8"-16 x 1 1/4", G5, Full Thd

2шт.

25

192-21

LOCK WASHER,3/8"

WASHER, LOCK, , Used with Case engine 3/8"

2шт.

26

195-525

WASHER,3/8", SAE

- flat, 3/8", used with case engine

2шт.

27

213-2

ADJUSTABLE CLEVIS,1/4"-28 x 2"

CLEVIS - 1/4", used with case engine

1шт.

28

S10714

CLEVIS PIN

- 1/4" special, used with case engine

1шт.

29

132-324

COTTER PIN,7/64" x 3/4"

PIN, Split (Cotter), , used with case engine 7/64" x 3/4"

1шт.

30

S92444

BAR

LEVER - injection pump, used with case engine

1шт.

31

113-9

BOLT,Hex, 1/4" - 20 x 7/8", Gr 5

- hex head, 1/4" - 20 NC x 7/8", used with case engine

2шт.

32

86625061

NUT,1/4"-20, GB

NUT - hex, self-locking, used with Case engine

2шт.

33

S227335

BRACKET

- throttle cable, at engine, used with detroit diesel

1шт.

34

S82381

YOKE

CLEVIS - 1/4" special, used with detroit diesel engine

1шт.

35

S10736

PIN

CLEVIS PIN - 5/16" special, used with detroit diesel engine

1шт.

36

132-46

COTTER PIN,1/8" x 3/4"

Pin, Split (Cotter), , Used with Detroit diesel engine 1/8" x 3/4"

1шт.

37

S211671

LEVER

- injection pump, used with detroit diesel engine

1шт.

Выбрано товаров: 38