Запчасти Case 1280 (060) - FUEL TANK AND LINES (02) - FUEL SYSTEM

Схема запчастей Case 1280 - (060) - FUEL TANK AND LINES (02) - FUEL SYSTEM
FIT
1:1
100%

Артикул

Название

Примечание

Количество

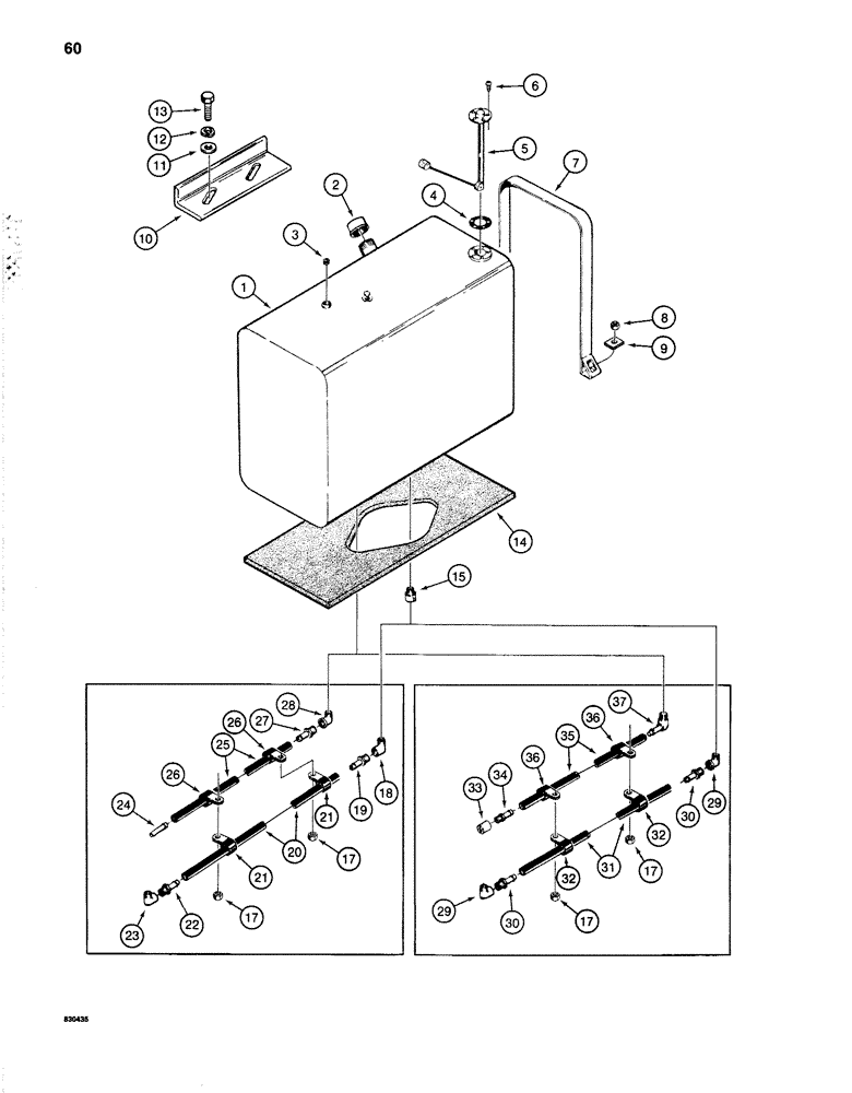
1

S514118

FUEL TANK

ASSEMBLY - diesel fuel, Includes: Ref. 2

1шт.

2

A18870

FILLER CAP

CAP - fuel tank

1шт.

Ref. 2A Cap (Not threaded)

1шт.

3

221-662

PLUG,Hex Hd, 1/4"-18

- hex head, 1/4" NPT

1шт.

4

S49745

GASKET

GASKET - fuel gauge

1шт.

5

S239445

ELECTRICAL GAUGE

FUEL GAUGE ASSEMBLY - fuel level

1шт.

6

182-147

SCREW,Sl Pan Hd, #10 - 32 x 3/4"

MACHINE SCREW - No 10 - 32 NF x 3/4"

5шт.

7

S93863

STRAP

- mounting, fuel tank

2шт.

8

131-52

NUT,3/8"-16, GC

NUT - hex, self-locking, 3/8" - 16 NC

4шт.

9

S108148

SPACER

- mounting strap

4шт.

10

S238105

ANGLE

- mounting, fuel tank

1шт.

11

S95569

WASHER

- flat, special, 1/2"

2шт.

12

192-23

LOCK WASHER,1/2"

WASHER, LOCK, 1/2"

2шт.

13

113-412

BOLT,Hex, 1/2" - 13 x 1-3/4", Gr 5

2шт.

14

S224325

PAD

- fuel tank

1шт.

15

217-81

VALVE

- fuel shutoff

1шт.

17

131-52

NUT,3/8"-16, GC

NUT - hex, self-locking, 3/8" - 18 NC

2шт.

18

217-22

ELBOW,90 Degree, 3/8"-18 NPTF, Fem x 3/8"-18 NPTF Male

- 90 degree, at tank, used with case engine

1шт.

19

220-7

FITTING

BARB FITTING - straight, at tank, used with case engine

1шт.

20

REF

INSTRUCTION

HOSE - engine supply, 116" (2946 mm) long, cut from S118400, see below, used with case engine

1шт.

21

515-23159

CLAMP,5/8", Insul, 3/8" Bolt

- hose, used with case engine

2шт.

22

220-3

FITTING

BARB FITTING - straight, at engine, used with case

1шт.

23

217-21

ELBOW,90 Degree, 1/4"-18 NPTF, Fem x 1/4"-18 NPTF Male

- 90 degree, at engine, used with case

1шт.

24

S66490

TUBE

- engine return, used with case

1шт.

25

S118378

HOSE,0.25" ID BULK, SAE 30R2 Type 3

0.25" ID x 168.00" Bulk, SAE 30R2 Type 3 - Engine return, Cut to 116" (2946 mm) long, Used with Case

1шт.

26

515-25127

CLAMP,1/2", Insul, 1/2" Bolt

- hose, used with case engine

2шт.

27

220-2

FITTING

BARB FITTING - straight, at tank, used with case engine

1шт.

28

217-21

ELBOW,90 Degree, 1/4"-18 NPTF, Fem x 1/4"-18 NPTF Male

- 90 degree, at tank, used with case engine

1шт.

29

217-22

ELBOW,90 Degree, 3/8"-18 NPTF, Fem x 3/8"-18 NPTF Male

- 90 degree, engine supply hose, used with detroit diesel

2шт.

30

220-4

FITTING

BARB FITTING - straight, engine supply hose, used with detroit diesel

2шт.

31

REF

INSTRUCTION

HOSE - engine supply, 128" (3251 mm) long, cut from S118466, see below, used with detroit diesel

1шт.

32

515-23190

CLAMP,3/4", Insul, 3/8" Bolt

- hose, used with detroit diesel engine

2шт.

33

221-336

COUPLING,Pipe, 1/4" NPT

engine return line, used with detroit diesel Pipe, 1/4" NPT

1шт.

34

217-125

FITTING,3/8" Hose Barb x 1/4" Male NPTF

BARB FITTING - straight, at engine (Replaces 220-3), used with detroit diesel

1шт.

35

REF

INSTRUCTION

HOSE - engine return, 116" (2946 mm) long, cut from S118400, see below, used with detroit diesel

1шт.

36

515-23159

CLAMP,5/8", Insul, 3/8" Bolt

- hose, used with detroit diesel engine

2шт.

37

220-520

ELBOW,90 Degree, 1/8" NPT x 3/8" Barbed

BARB FITTING - 90 degree, at tank, used with detroit diesel engine

1шт.

S118466

HOSE,0.50" ID x 300.00"

- Fuel, Used with Detroit diesel engine 0.50" ID x 300.00"

1шт.

S118400

HOSE,0.38" ID x 300.00"

- Fuel, Used with Detroit diesel engine 0.38" ID x 300.00"

1шт.

Выбрано товаров: 39