Запчасти Case 1280B (060) - FUEL TANK AND LINES, STANDARD CAPACITY FUEL TANK (03) - FUEL SYSTEM

Схема запчастей Case 1280B - (060) - FUEL TANK AND LINES, STANDARD CAPACITY FUEL TANK (03) - FUEL SYSTEM
FIT
1:1
100%

Артикул

Название

Примечание

Количество

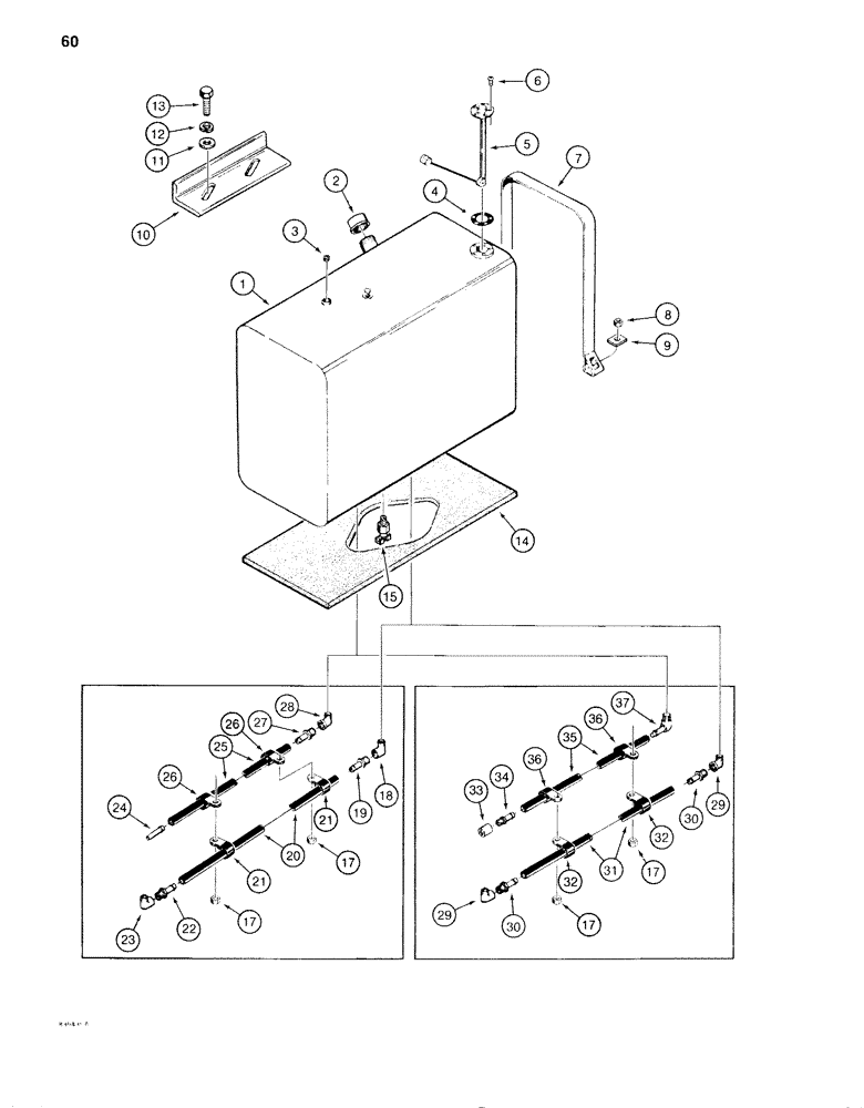
1

S514118

FUEL TANK

ASSEMBLY - diesel fuel, 75 gallon capacity, Includes: Ref. 2

1шт.

2

A18870

FILLER CAP

Fuel tank

1шт.

3

221-662

PLUG,Hex Hd, 1/4"-18

1шт.

4

S49745

GASKET

GASKET - fuel gauge

1шт.

5

S239445

ELECTRICAL GAUGE

FUEL ASSEMBLY - fuel level

1шт.

6

182-147

SCREW,Sl Pan Hd, #10 - 32 x 3/4"

Machine

5шт.

7

S93863

STRAP

Mounting, fuel tank

2шт.

8

131-52

NUT,3/8"-16, GC

4шт.

9

S108148

SPACER

Mounting strap

4шт.

10

S238105

ANGLE

Mounting, fuel tank

1шт.

11

S95569

WASHER

Flat, special, 1/2"

2шт.

12

192-23

LOCK WASHER,1/2"

2шт.

13

113-412

BOLT,Hex, 1/2" - 13 x 1-3/4", Gr 5

2шт.

14

S224325

PAD

Fuel tank

1шт.

15

217-81

VALVE

Fuel tank drain

1шт.

17

131-52

NUT,3/8"-16, GC

3шт.

18

217-22

ELBOW,90 Degree, 3/8"-18 NPTF, Fem x 3/8"-18 NPTF Male

At tank, fuel lines used with case engine

1шт.

19

220-7

FITTING

BARB - straight, at tank, fuel lines used with case engine

1шт.

20

REF

INSTRUCTION

HOSE - engine supply, 116" (2946 mm) long, cut from S118400, see below, fuel lines used with case

1шт.

21

515-23159

CLAMP,5/8", Insul, 3/8" Bolt

Hose, fuel lines used with case engine

3шт.

22

217-125

FITTING,3/8" Hose Barb x 1/4" Male NPTF

At engine, fuel lines used with case

1шт.

23

217-21

ELBOW,90 Degree, 1/4"-18 NPTF, Fem x 1/4"-18 NPTF Male

At engine, fuel lines used with case

1шт.

24

S66490

TUBE

Engine return, fuel lines used with case

1шт.

25

S118378

HOSE,0.25" ID BULK, SAE 30R2 Type 3

Engine return, Cut to 116" (2946 mm) long, Fuel lines used with Case

1шт.

26

49890

CLAMP

Hose, fuel lines used with case engine

3шт.

27

220-2

FITTING

BARB - straight, at tank, fuel lines used with case engine

1шт.

28

217-21

ELBOW,90 Degree, 1/4"-18 NPTF, Fem x 1/4"-18 NPTF Male

At tank, fuel lines used with case engine

1шт.

29

217-22

ELBOW,90 Degree, 3/8"-18 NPTF, Fem x 3/8"-18 NPTF Male

Engine supply hose, fuel lines used with detroit diesel

2шт.

30

220-4

FITTING

BARB - straight, engine supply hose, fuel lines used with detroit diesel

2шт.

31

REF

INSTRUCTION

HOSE - engine supply, 128" (3251 mm) long, cut from S118466, see below, fuel lines used with detroit diesel

1шт.

32

515-23190

CLAMP,3/4", Insul, 3/8" Bolt

CLAMP - hose, fuel lines used with detroit diesel

3шт.

33

221-336

COUPLING,Pipe, 1/4" NPT

Engine return line, fuel lines used with detroit diesel

1шт.

34

217-125

FITTING,3/8" Hose Barb x 1/4" Male NPTF

BARB - straight, at engine, fuel lines used with detroit diesel

1шт.

35

REF

INSTRUCTION

HOSE - engine return, 116" (2946 mm) long, cut from S118400, see below, fuel lines used with detroit diesel

1шт.

36

515-23159

CLAMP,5/8", Insul, 3/8" Bolt

Hose, fuel lines used with detroit diesel engine

3шт.

37

220-520

ELBOW,90 Degree, 1/8" NPT x 3/8" Barbed

BARB FITTING - at tank, fuel lines used with detroit diesel engine

1шт.

S118466

HOSE,0.50" ID x 300.00"

Fuel lines used with Detroit diesel engine

1шт.

S118400

HOSE,0.38" ID x 300.00"

Fuel, Fuel lines used with Detroit diesel engine

1шт.

Выбрано товаров: 38