Запчасти Case 1187 (242) - RELIEF VALVE, USED WITH ROTARY CUTTER (07) - HYDRAULIC SYSTEM

Схема запчастей Case 1187 - (242) - RELIEF VALVE, USED WITH ROTARY CUTTER (07) - HYDRAULIC SYSTEM
FIT
1:1
100%

Артикул

Название

Примечание

Количество

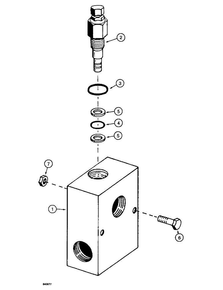
S233922

VALVE

RELIEF VALVE ASSEMBLY - rotary cutter, Includes: Ref. 1 - 5

1шт.

1

NSS

NOT SOLD SEPARAT

BODY - relief valve

1шт.

S218737

VALVE ASSEMBLY - relief, Includes: Ref. 2 - 5

1шт.

2

S93027

CARTRIDGE

- relief

1шт.

3

G34846

O-RING,0.139" Thk x 0.796" ID, -211, Cl 6, 90 Duro

- cartridge, 13/16" ID

1шт.

4

A64436

O-RING,0.549" ID x 0.755" OD

- cartridge, 9/16" ID

1шт.

5

S84196

BACK-UP RING,9/16" ID x 3/4" OD x 0.052"

BACKUP RING - Teflon

2шт.

6

113-241

BOLT,Hex, 3/8" - 16 x 3", Gr 5

2шт.

7

131-52

NUT,3/8"-16, GC

NUT - hex, self-locking, 3/8" - 16 NC

2шт.

Выбрано товаров: 9