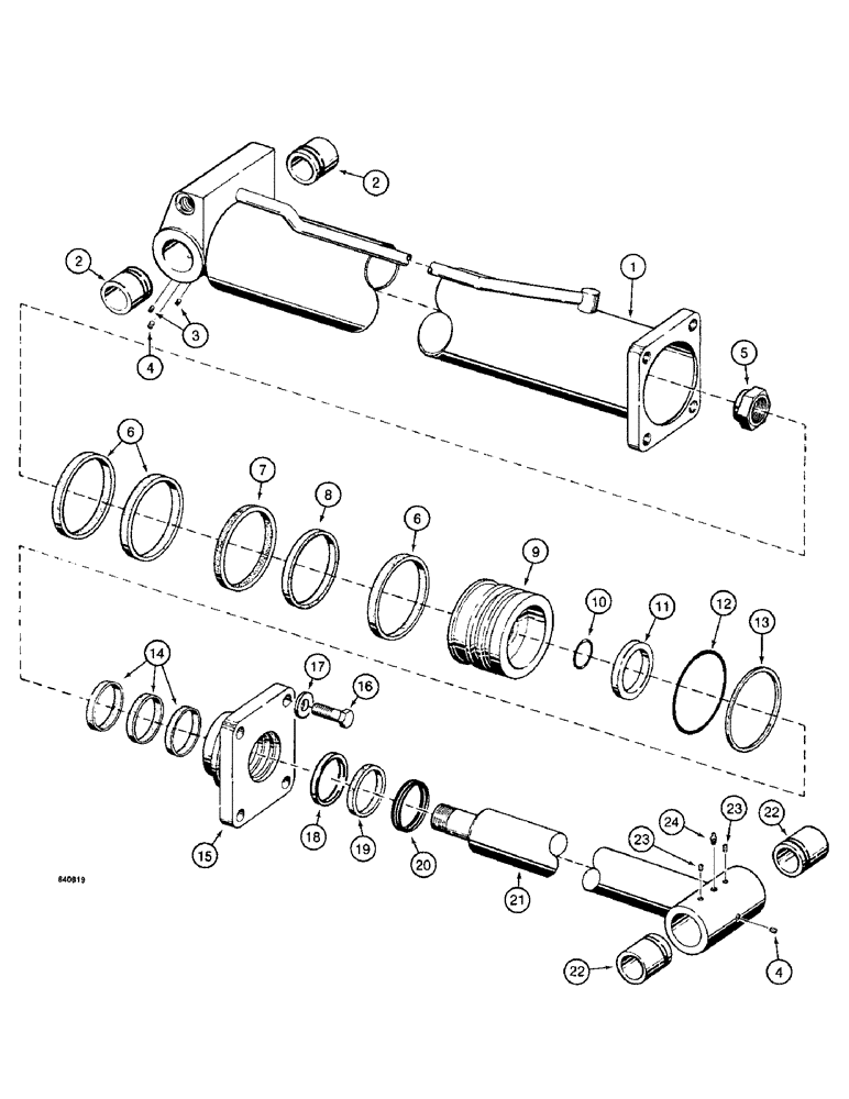
Запчасти Case 1187 (268) - ARM CYLINDER, (USED WITH FELLER BUNCHER AND ROTARY CUTTER ONLY) (07) - HYDRAULIC SYSTEM

Схема запчастей Case 1187 - (268) - ARM CYLINDER, (USED WITH FELLER BUNCHER AND ROTARY CUTTER ONLY) (07) - HYDRAULIC SYSTEM
FIT
1:1
100%

Артикул

Название

Примечание

Количество

S608077

CYLINDER

- hydraulic, arm and tool, Includes: Ref. 1 - 23

1-2шт.

1

S608078

TUBE

- cylinder, Includes: Ref. 2 and 3

1шт.

2

S225645

BUSHING

- cylinder, base end

2шт.

3

83-56

SET SCREW,Hex Soc, 5/16"-18 x 3/8"

- hex socket head, 5/16" - 18 NC x 3/8"

4шт.

4

221-849

PLUG,Hex Soc, 1/8"-27

- pipe, hex socket head, 1/8" NPT

2шт.

5

S83249

NUT

- lock, special

1шт.

6

S97856

RING

- wear, piston

3шт.

Part of Seal Kit, P/N S120324

1шт.

S228607

SEAL,145.16mm ID x 166.85mm OD x 9.32mm Thk

SEAL ASSEMBLY - piston, Includes: Ref. 7 and 8

1шт.

Part of Seal Kit, P/N S120324

1шт.

7

NSS

NOT SOLD SEPARAT

SEAL - piston

1шт.

8

NSS

NOT SOLD SEPARAT

RING - seal expander

1шт.

9

S508236

PISTON

- cylinder

1шт.

10

A7552

O-RING,0.21" Thk x 1.975" ID, -329, Cl 5, 75 Duro

- piston to rod

1шт.

Part of Seal Kit, P/N S120324

1шт.

11

S97798

SPACER

- piston

1шт.

12

S6030

O-RING,5.975" ID x 6.525" OD x 0.275"

- gland to tube

1шт.

Part of Seal Kit, P/N S120324

1шт.

13

S99881

WASHER

BACKUP RING - seal

1шт.

Part of Seal Kit, P/N S120324

1шт.

14

S104133

OIL SEAL

RING - wear, gland

3шт.

Part of Seal Kit, P/N S120324

1шт.

15

S618039

GLAND

- cylinder

1шт.

16

28-1444

BOLT,Hex, 7/8" - 14 x 2-3/4", Gr 8

- hex head, 7/8" - 14 NF x 2-3/4", grade 8

4шт.

17

196-35

WASHER,15/16" x 1 3/4" x .134", HDN

- hardened, 7/8"

4шт.

18

S120452

SEAL

RING - buffer, gland

1шт.

Part of Seal Kit, P/N S120324

1шт.

19

S118038

SEAL

- piston rod

1шт.

Part of Seal Kit, P/N S120324

1шт.

20

S97854

WIPER SEAL,88.9mm ID x 104.98mm OD x 7.92mm Thk

WIPER - piston rod

1шт.

Part of Seal Kit, P/N S120324

1шт.

21

S508274

ROD

- piston, cylinder, Includes: Ref. 22 and 23

1шт.

22

S225645

BUSHING

- piston rod

2шт.

23

83-56

SET SCREW,Hex Soc, 5/16"-18 x 3/8"

- hex socket head, 5/16" - 18 NC x 3/8"

4шт.

24

219-1

LUBE NIPPLE,1/8" - 27 NPTF

GREASE FITTING - straight, 1/8" NPT

1шт.

S120324

KIT

- seal, Includes: Ref. 6, 10, 12, 13, 14, 18, 19, 20 and P/N S228607

1шт.

Выбрано товаров: 36