Запчасти Case 1187B (9-366) - TURNTABLE ASSIST HANDLES AND PLATFORMS (09) - CHASSIS

Схема запчастей Case 1187B - (9-366) - TURNTABLE ASSIST HANDLES AND PLATFORMS (09) - CHASSIS
FIT
1:1
100%

Артикул

Название

Примечание

Количество

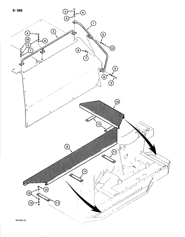
1

S516407

HANDLE

- assist, front of turntable

1шт.

2

S516413

HANDLE

- assist, top of turntable

1шт.

3

113-417

BOLT,Hex, 1/2" - 13 x 1-1/4", Gr 5, Full Thd

1шт.

4

113-410

BOLT,Hex, 1/2" - 13 x 1-1/2", Gr 5, Full Thd

2шт.

5

192-23

LOCK WASHER,1/2"

WASHER, LOCK, 1/2"

4шт.

6

S95569

WASHER

- flat, 1/2" ID x 1-3/8" OD, hardened, plated

4шт.

7

196-15

WASHER,17/32" x 1 1/6" x .134"

- flat, 1/2" ID x 1-1/16" OD, hardened, plated

2шт.

8

131-70

NUT,1/2"-13, GB

NUT - hex, self-locking, 1/2" - 13 NC, plated

1шт.

9

S516265

GRATING

PLATFORM - access, turntable side

1шт.

10

S242003

GRATING

PLATFORM - access, turntable front

1шт.

11

S241803

BAR

- clamp, Serial Range: platform-turntable

5шт.

12

113-209

BOLT,Hex, 3/8" - 16 x 1-1/2", Gr 5

10шт.

13

195-525

WASHER,3/8", SAE

- flat, 3/8", plated

20шт.

14

131-52

NUT,3/8"-16, GC

NUT - hex, self-locking, 3/8" - 16 NC, plated

10шт.

15

113-412

BOLT,Hex, 1/2" - 13 x 1-3/4", Gr 5

1шт.

16

113-421

BOLT,Hex, 1/2" - 13 x 2", Gr 5

1шт.

Выбрано товаров: 16