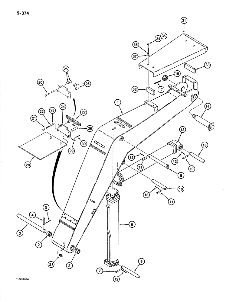
Запчасти Case 1187B (9-374) - BOOM AND RELATED PARTS, USED ON MODELS WITH P.I.N. JAK00327753 AND AFTER (09) - CHASSIS

Схема запчастей Case 1187B - (9-374) - BOOM AND RELATED PARTS, USED ON MODELS WITH P.I.N. JAK00327753 AND AFTER (09) - CHASSIS
FIT
1:1
100%

Артикул

Название

Примечание

Количество

1

S956965

BOOM

ASSEMBLY - logger, Includes: Refs. 2, 2A

1шт.

2

S229656

CHANNEL

BUSHING - boom, at turntable

2шт.

2a

219-1

LUBE NIPPLE,1/8" - 27 NPTF

FITTING - grease, boom, at turntable

1шт.

3

S242328

PIN

-, Serial Range: boom-turntable

1шт.

4

S87319

PIN

- clevis, at boom pin

1шт.

5

132-341

COTTER PIN,5/32" x 1 1/2"

5/32" x 1 1/2"

1шт.

6

S242326

PIN

- boom cylinder at turntable

1шт.

7

S61975

PIN,20.62mm OD x 106.76mm L

- clevis, at lower boom cylinder pin

1шт.

8

S243042

PIN

- boom cylinder at boom

1шт.

9

S956915

CYLINDER ASSY.

CYLINDER ASSEMBLY - boom, parts list Figure 8-314

1шт.

10

S242326

PIN

- arm, Serial Range: cylinder-boom

1шт.

11

S61973

AXLE PIN

PIN - clevis, boom cylinder pin and arm cylinder, Serial Range: pin-boom

2шт.

12

132-310

COTTER PIN,1/8" x 1"

PIN, SPLIT (COTTER), 1/8" x 1"

4шт.

13

S956911

CYLINDER

ASSEMBLY - arm, parts list Figure 8-316

1шт.

14

S243044

PIN ASSY.

PIN -, Serial Range: arm-boom

1шт.

16

129-617

NUT

- hex, slotted, 3" - 4 NC

1шт.

17

132-194

X,5/16" x 4 3/4"

PIN - cotter, 5/16" x 4"

1шт.

18

S242502

PIN

- arm, Serial Range: cylinder-arm

1шт.

19

S61972

PIN

- clevis, arm cylinder, Serial Range: pin-arm

1шт.

20

113-425

BOLT,Hex, 1/2" - 13 x 3", Gr 5

Used with feller buncher only Hex, 1/2"-13 x 3", G5

4шт.

21

113-2429

BOLT,Hex, 1/2" - 13 x 5-3/4", Gr 5

- hex head, 1/2" - 13 NC x 5-3/4", plated, used with rotary cutter only

4шт.

22

192-23

LOCK WASHER,1/2"

WASHER, LOCK, 1/2"

4шт.

23

195-530

WASHER,7/16"

- flat, 1/2", plated

4шт.

24

S221029

BRACKET

-, Serial Range: guard-boom

1шт.

25

S99133

SPACER

- bracket to boom, used with feller buncher only

4шт.

26

S106386

SPACER

- bracket to boom, used with rotary cutter only in lower bracket holes

2шт.

27

S229652

BRACKET

- tube clamp, acts as spacer for bracket to boom, rotary cutter only

1шт.

28

S516724

GUARD ASSY.

GUARD - boom, sliding

1шт.

29

S10805

PIN

- clevis, sliding boom, Serial Range: guard-bracket

2шт.

30

132-310

COTTER PIN,1/8" x 1"

PIN, SPLIT (COTTER), , Used with rotary cutter only 1/8" x 1"

2шт.

30

132-318

COTTER PIN,5/32" x 1"

used with feller buncher only 5/32" x 1"

2шт.

31

S618185

GUARD

- tube, upper boom

1шт.

32

S120473

SPACER

- guard to boom, 5-13/16" (147 mm) long, used with rotary cutter hydraulics only

1шт.

33

S120474

SPACER

- guard to boom, 9-1/2" (241 mm) long, used with rotary cutter hydraulics only

1шт.

34

113-411

BOLT,Hex, 1/2" - 13 x 4-1/2", Gr 5

Used with rotary cutter hydraulics Hex, 1/2"-13 x 4 1/2", G5

4шт.

35

113-410

BOLT,Hex, 1/2" - 13 x 1-1/2", Gr 5, Full Thd

Used with feller buncher hydraulics Hex, 1/2"-13 x 1 1/2", G5, Full Thd

4шт.

36

192-23

LOCK WASHER,1/2"

WASHER, LOCK, 1/2"

4шт.

37

195-530

WASHER,7/16"

- flat, 1/2", plated

4шт.

Выбрано товаров: 38