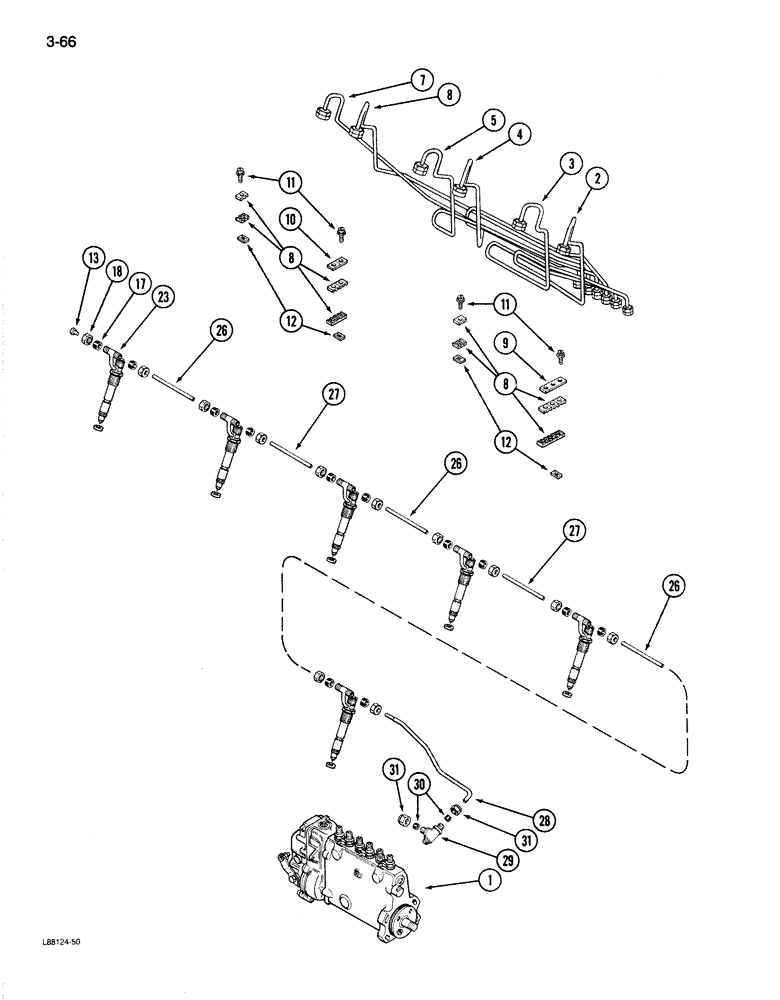
Запчасти Case 1187B (3-66) - FUEL INJECTION SYSTEM, 504BDT ENGINE (03) - FUEL SYSTEM

Схема запчастей Case 1187B - (3-66) - FUEL INJECTION SYSTEM, 504BDT ENGINE (03) - FUEL SYSTEM
FIT
1:1
100%

Артикул

Название

Примечание

Количество

1

REF

INSTRUCTION

PUMP ASSEMBLY - fuel injection (See Figure 3-72)

1шт.

2

A156885

TUBE

- fuel injection, No. 1 cylinder

1шт.

A156885: TUBE (INJ). SEE S/B #A19-82

1шт.

3

A156886

TUBE

- fuel injection, No. 2 cylinder

1шт.

A156886: TUBE (INJ). SEE S/B #A19-82

1шт.

4

A156887

TUBE

- fuel injection, No. 3 cylinder

1шт.

A156887: TUBE (INJ). SEE S/B #A19-82

1шт.

5

A156888

TUBE

- fuel injection, No. 4 cylinder

1шт.

A156888: TUBE (INJ). SEE S/B #A19-82

1шт.

6

A156889

TUBE

- fuel injection, No. 5 cylinder

1шт.

A156889: TUBE (INJ). SEE S/B #A19-82

1шт.

7

A156890

PIPE

TUBE - fuel injection, No. 6 cylinder

1шт.

A156890: TUBE (INJ). SEE S/B #A19-82

1шт.

8

A58709

BRACKET

- injection tube

14шт.

9

A58708

PLATE

- injection tube bracket (For 6 lines)

1шт.

10

A58710

PLATE

- injection tube bracket (For 4 lines)

1шт.

11

163-19

SCREW,Sl Hex Wshr Hd, #10 - 24 x 1"

- hex slotted, No. 10 NC x 1 inch

7шт.

12

131-612

SPRING NUT,Flat, #10 - 24, 0.022" Thk

NUT - Tinnerman, No. 10 NC

7шт.

13

47-37

RIVET,FH, 3/16" x 7/16"

- flat head, 3/16 x 7/16 inch

1шт.

17

222-101

SLEEVE,3/16" Tube

- for 3/16 inch tube

12шт.

18

222-111

TUBE NUT,7/16" - 24

NUT - for 3/16 inch

12шт.

23

REF

INSTRUCTION

NOZZLE ASSEMBLY - fuel injection (See Figures 3-74 and 3-76)

6шт.

26

A76642

TUBE

- leak-off, 4-11/16 inch long

3шт.

27

A76641

TUBE

- leak-off, 5-3/4 inch long

2шт.

28

A153816

TUBE

- leak-off, No. 1, Serial Range: nozzle-valve

1шт.

29

A59097

VALVE

ASSEMBLY - check, leak-off (in injection pump)

1шт.

30

222-102

SLEEVE,1/4" Tube

2шт.

222-102: SLEEVE. SEE NA #10-1992; TS #535-92D

1шт.

31

87017024

TUBE NUT,1/2"-24

NUT - for 1/4 inch tube

2шт.

Выбрано товаров: 29