Запчасти Case 1187B (4-116) - ELECTRICAL HARNESS - RIGHT-HAND CONSOLE, USED ON MODELS PRIOR TO P.I.N. 6275525 (04) - ELECTRICAL SYSTEMS

Схема запчастей Case 1187B - (4-116) - ELECTRICAL HARNESS - RIGHT-HAND CONSOLE, USED ON MODELS PRIOR TO P.I.N. 6275525 (04) - ELECTRICAL SYSTEMS
FIT
1:1
100%

Артикул

Название

Примечание

Количество

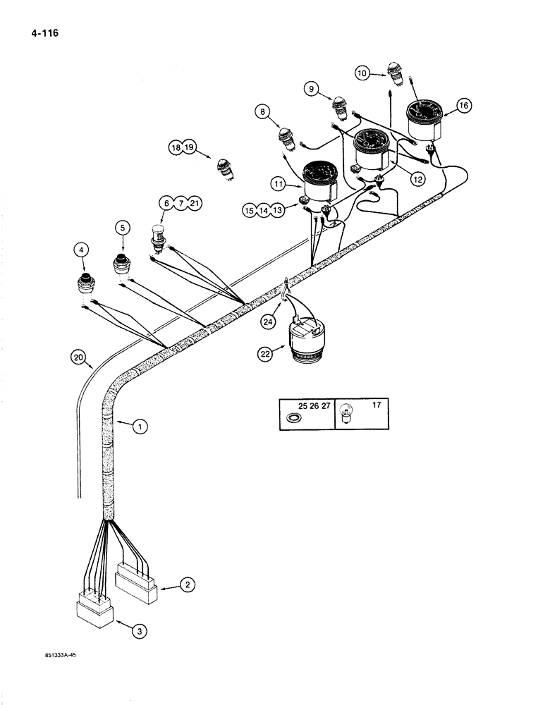
1

S618807

HARNESS

- right-hand console, Includes: Refs. 2 and 3

1шт.

2

223-170

CONNECTOR, ELEC

CONNECTOR - female, 6 terminals

1шт.

3

223-172

CONNECTOR, ELEC

CONNECTOR - female, 8 terminals

1шт.

4

S241920

SWITCH

- cold start button, if used

1шт.

5

S241920

SWITCH

- horn

1шт.

6

S239151

LIGHT

LAMP - panel

1шт.

7

A25258

BULB

- panel lamp and warning lamps, No. 1829

4шт.

8

S239150

LIGHT

LAMP - warning, hydraulic filter

1шт.

9

S242610

LIGHT

LAMP - warning, engine oil pressure

1шт.

10

S239148

LAMP

- warning, drive brake on

1шт.

11

S241733

GAUGE

- warning, hydraulic oil temperature

1шт.

12

S239138

GAUGE

- engine temperature

1шт.

13

S108406

RESISTOR

- engine temperature gauge

1шт.

14

193-26

LOCK WASHER,Int Tooth, #10

WASHER, LOCK, Int Tooth, #10

2шт.

15

129-37

NUT,#10-32

1шт.

16

S239336

VOLTMETER

- battery

1шт.

17

S116543

BULB

- gauges and voltmeter

2шт.

18

S240123

LIGHT

LAMP - warning, low hydraulic oil level

1шт.

19

S119827

BULB

- warning lamp, No. 313

1шт.

20

S516962

HARNESS

- from hydraulic oil tank

1шт.

21

182-519

SCREW,Sl Pan Hd, #4 - 40 x 3/16"

- machine, pan head slotted, No. 4 - 40 NC x 3/16", brass, replaces existing screw on panel lamp, connects Ref. 20 to Ref. 6

1шт.

22

S242611

ALARM

BUZZER - low oil pressure

1шт.

24

L18337

CABLE TIE,9.95"-12.1" lg

STRAP - tie, 15 inch, nylon

1шт.

25

193-26

LOCK WASHER,Int Tooth, #10

WASHER, LOCK, , Switch and gauge terminals Int Tooth, #10

1шт.

26

193-25

LOCK WASHER,Int Tooth, 0.172" ID x 0.332" OD, STL, PLN

WASHER, LOCK, , Switch and gauge terminals Int Tooth, #8

1шт.

27

193-24

LOCK WASHER,Int Tooth, #6

WASHER, LOCK, , Switch and gauge terminals Int Tooth, #6

1шт.

PLUG USED NOT SHOWN S242662

1шт.

Выбрано товаров: 27