Запчасти Case 1187C (8-56) - SOLENOID CONTROL VALVE (08) - HYDRAULICS

Схема запчастей Case 1187C - (8-56) - SOLENOID CONTROL VALVE (08) - HYDRAULICS
FIT
1:1
100%

Артикул

Название

Примечание

Количество

S516951

VALVE

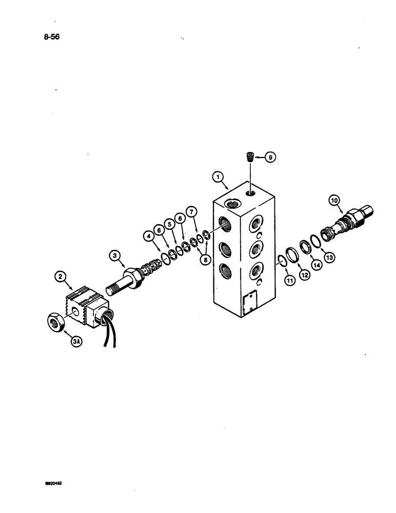
ASSEMBLY - control, solenoid, for mounting hardware see Figure 8-10, Includes: Ref. 1 - 14

1шт.

1

NSS

NOT SOLD SEPARAT

BODY - control valve

1шт.

2

N9053

COIL

- solenoid

3шт.

N8549

SOLENOID

ASSEMBLY - control valve, Includes: Ref. 3 - 8

3шт.

3

NSS

NOT SOLD SEPARAT

BODY - solenoid

1шт.

3a

325-158

NUT - hex jam, 1/2 inch NF

1шт.

4

237-6008

O-RING,0.087" Thk x 0.644" ID, -908, Cl 6, 90 Duro

8-1, 90 Duro, .644" ID x .087" Thk

1шт.

5

238-5014

O-RING,0.07" Thk x 0.489" ID, -14, Cl 5, 75 Duro

-014, 70 Duro, .489" ID x .070" Thk, Center

1шт.

6

N8553

O-RING

- backup, center O-ring

2шт.

7

238-5013

O-RING,0.07" Thk x 0.426" ID, -13, Cl 5, 75 Duro

-013, 70 Duro, .426" ID x .070" Thk, Inner

1шт.

8

N8554

O-RING

RING - backup, inner O-ring

2шт.

9

221-849

PLUG,Hex Soc, 1/8"-27

- hex socket, 1/8 inch PT

1шт.

N9894

VALVE, PRESSURE RELI

VALVE ASSEMBLY - relief, control valve, Includes: Ref. 10 - 14

1шт.

10

NSS

NOT SOLD SEPARAT

BODY - relief valve

1шт.

11

238-6015

O-RING,0.07" Thk x 0.551" ID, -15, Cl 6, 90 Duro

Relief valve -015, 90 Duro, .551" ID x .070" Thk

1шт.

12

N9961

BACK-UP RING,0.551" ID x 0.691" OD x 0.07"

- outer, used with 9/16 inch ID O-ring

1шт.

13

238-6017

O-RING,0.07" Thk x 0.676" ID, -17, Cl 6, 90 Duro

Relief valve -017, 90 Duro, .676" ID x .070" Thk

1шт.

14

A34493

RING,16.33mm ID x 19.02mm OD x 1.25mm Thk

- backup, used with 11/16 inch ID O-ring

1шт.

Выбрано товаров: 18