Запчасти Case 1187C (9-04) - HAND LEVER CONTROLS (09) - CHASSIS

Схема запчастей Case 1187C - (9-04) - HAND LEVER CONTROLS (09) - CHASSIS
FIT
1:1
100%

Артикул

Название

Примечание

Количество

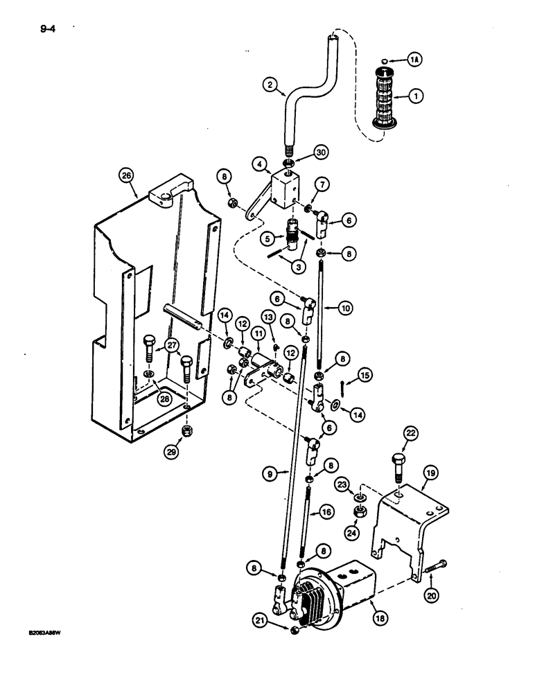
1

S119987

GRIP

- control lever

2шт.

1a

353-406

PLUG,Dome, .625" hole, Nylon

- nylon, 5/8 inch, control lever grip

2шт.

2

S514719

HANDLE

LEVER - control, right-hand and left-hand

2шт.

3

21648R1

LOCK PIN,1/4" x 1 1/4", Slotted

Pin, , universal joint retaining 1/4" x 1 1/4", Slotted

4шт.

4

S516609

HANDLE

BLOCK - pivot, control lever

2шт.

5

S242118

SWIVEL CONNECTION

JOINT - universal, control lever, with seal

2шт.

6

S236680

BALL JOINT

JOINT - ball, rod ends

8шт.

7

492-11038

LOCK WASHER,3/8"

2шт.

8

425-156

JAM NUT,Jam, 3/8"-24, G5

- hex, jam, 3/8 inch NF

18шт.

9

S120445

ROD

- pivot block to control valve, outer

2шт.

10

S91953

ROD

- pivot block to intermediate lever, upper

2шт.

S242224

LINK ASSY.

LEVER ASSEMBLY - intermediate, inner rods, Includes: Ref. 11 - 13

2шт.

11

NSS

NOT SOLD SEPARAT

LEVER - intermediate

1шт.

12

A27801

BUSHING

- bronze

2шт.

13

219-55

LUBE NIPPLE,90 Degree Elbow, 1/8" - 27 NPTF

NIPPLE, LUBE, 90º, 1/8" NPT x .84" lg

1шт.

14

495-11053

WASHER,1/2", SAE

(17/32" x 1-1/16" x 5/64") 1/2", SAE

4шт.

15

432-816

COTTER PIN,1/8" x 1"

lever retaining 1/8" x 1"

2шт.

16

S80385

ROD

- intermediate lever to control valve, lower

2шт.

17

S517358

VALVE

ASSEMBLY - control, hand control, right-hand, not shown, parts list Figure 8-54

1шт.

18

S517357

VALVE

ASSEMBLY - control, hand control, left-hand, parts list Figure 8-54

1шт.

19

S516903

BRACKET

- mounting, control valve

2шт.

20

413-416

BOLT,Hex, 1/4" - 20 x 1", Gr 5

- hex, 1/4 NC x 1 inch

6шт.

21

231-1444

NUT,1/4"-20, GB

NUT, LOCK, 1/4"-20, GB

6шт.

22

413-628

BOLT,Hex, 3/8" - 16 x 1-3/4", Gr 5

- hex, 3/8 NC x 1-3/4 inch

6шт.

23

496-81003

WASHER,10.31mm ID x 26.98mm OD x 3.07mm Thk

- flat, 13/32 x 1-1/16 x 3/32 inch, used at slot only

2шт.

24

131-52

NUT,3/8"-16, GC

NUT - light hex, self-locking, 3/8 inch NC

6шт.

25

S615677

SUPPORT

- linkage, right-hand, not shown

1шт.

26

S615728

SUPPORT

- linkage, left-hand

1шт.

27

413-624

BOLT,Hex, 3/8" - 16 x 1-1/2", Gr 5

- hex, 3/8 NC x 1-1/2 inch

6шт.

28

495-21044

WASHER,3/8"

(flat, 7/16 x 1 x 5/64 inch), Used at slots only 3/8"

3шт.

29

131-52

NUT,3/8"-16, GC

NUT - light hex, self-locking, 3/8 inch NC

6шт.

30

425-1410

JAM NUT,Jam, 5/8"-11, G5

- hex, jam, 5/8 inch NC

2шт.

Выбрано товаров: 32