Запчасти Case 1187C (5-02) - TRACK FRAMES AND DRIVE SPROCKET (11) - TRACKS/STEERING

Схема запчастей Case 1187C - (5-02) - TRACK FRAMES AND DRIVE SPROCKET (11) - TRACKS/STEERING
FIT
1:1
100%

Артикул

Название

Примечание

Количество

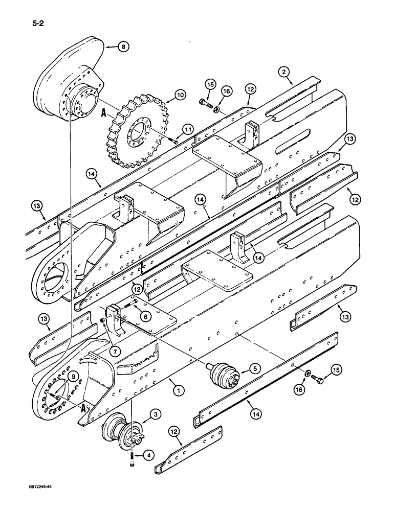
1

S957025

FRAME

- track, right-hand

1шт.

2

S957024

FRAME

- track, left-hand

1шт.

3

REF

INSTRUCTION

ROLLER ASSEMBLY - track, single flange, for correct assembly and parts list see Figure 5-10 or 5-11A

10шт.

3

REF

INSTRUCTION

ROLLER ASSEMBLY - track, double flange, for correct assembly and parts list see Figure 5-10 or 5-11A

6шт.

4

113-2708

BOLT,Locking, 3/4" - 16 x 3-1/4", Gr 5

- hex, 3/4 NC x 3-1/4 inch

64шт.

5

R33608

ROLLER

ASSEMBLY - carrier, upper, parts list Figure 5-8

4шт.

6

814-20090

BOLT,Hex, M20 x 2.5 x 90mm, Cl 8.8

- hex, 20 - 2.5 x 90 mm

4шт.

7

825-1420

NUT,M20, Cl 8

Hex M20, Cl 8

4шт.

8

S619224

ASSEMBLY

TRANSMISSION ASSEMBLY - final drive, parts list Figures 6-2 and 6-4

2шт.

9

826-20065

BOLT,Hex, M20 x 2.5 x 65mm, Cl 10.9

- hex, 20 - 2.5 x 65 mm, class 10.9

34шт.

10

S957018

SPROCKET ASSY.

SPROCKET - track drive

2шт.

11

826-20050

BOLT,Hex, M20 x 2.5 x 50mm, Cl 10.9, Full Thd

- hex, 20 - 2.5 x 50 mm, class 10.9

24шт.

12

S619276

GUARD ASSY.

PLATE - wear, track frame, right-hand rear outer and front inner, left-hand rear inner and front outer

4шт.

13

S619277

GUARD ASSY.

PLATE - wear, track frame, right-hand rear inner and front outer, left-hand rear outer and front inner

4шт.

14

S619278

GUARD ASSY.

PLATE - wear, track frame, center right-hand and left-hand inner and outer

4шт.

15

413-1632

BOLT,Hex, 1" - 8 x 2", Gr 5

- hex, 1 NC x 2 inch

72шт.

16

95-11106

WASHER,1" x 2" x .134"

- flat, 1-1/16 x 2 x 1/8 inch

72шт.

Выбрано товаров: 17