Запчасти Case 1187C (8-22) - ARM AND TOOL CYLINDER CIRCUITS, TUBES FROM CONTROL VALVES AT TURNTABLE (08) - HYDRAULICS

Схема запчастей Case 1187C - (8-22) - ARM AND TOOL CYLINDER CIRCUITS, TUBES FROM CONTROL VALVES AT TURNTABLE (08) - HYDRAULICS
FIT
1:1
100%

Артикул

Название

Примечание

Количество

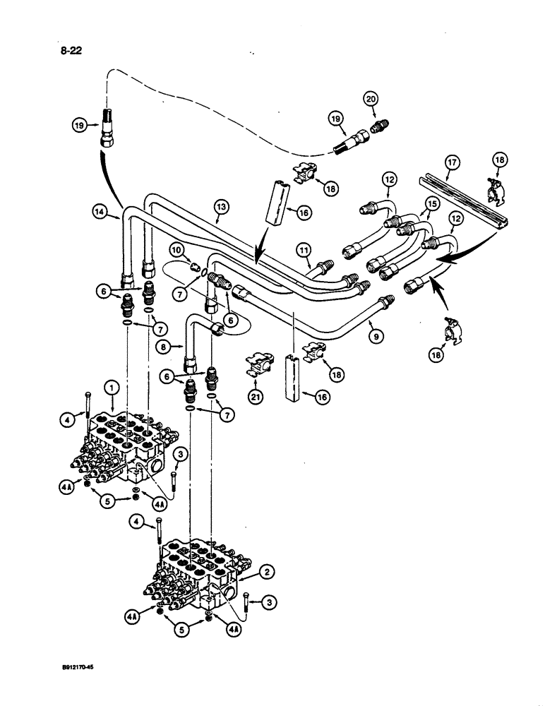
1

S517198

VALVE

ASSEMBLY - control, outside, parts list Figure 8-46

1шт.

2

S517197

VALVE

ASSEMBLY - control, inside, parts list Figure 8-44

1шт.

3

413-844

BOLT,Hex, 1/2" - 13 x 2-3/4", Gr 5

- hex, 1/2 NC x 2-3/4 inch

2шт.

4

413-868

BOLT,Hex, 1/2" - 13 x 4-1/4", Gr 5

- hex, 1/2 NC x 4-1/4 inch

4шт.

4a

495-11053

WASHER,1/2", SAE

(17/32" x 1-1/16" x 5/64") 1/2", SAE

6шт.

5

231-1448

NUT,1/2"-13, GB

- hex, self-locking, 1/2 inch NC

6шт.

6

218-5069

HYD CONNECTOR,1-5/16" - 12 Male JIC x 1-5/16" - 12 Male ORB

Adapter - straight, 1-5/16-12 inch flare x O-ring boss, Incl. Ref. 7

5шт.

7

237-6016

O-RING,0.116" Thk x 1.171" ID, -916, Cl 6, 90 Duro

- 1-11/64 ID x 7/64 inch

1шт.

8

S243052

TUBE ASSY.,1.25" OD x 9, 7.8" L

TUBE - valve to arm cylinder, closed end, at valve

1шт.

9

S515795

TUBE ASSY.,1.25" OD x 18.4" L

TUBE - valve to arm cylinder, closed end, at cylinder

1шт.

10

S79252

REGULATOR

RESTRICTOR - oil flow, arm cylinder

1шт.

11

S517268

TUBE ASSY.,1.25" OD

TUBE - valve to arm cylinder, rod end, at cylinder

1шт.

12

S240971

TUBE ASSY.,1.25" OD x 25, 5.9" L

TUBE - valve to arm cylinder, at tube clamp channel

2шт.

13

S517269

TUBE ASSY.,1.25" OD

TUBE - valve to tool cylinder, closed end

1шт.

14

S517270

TUBE ASSY.

TUBE - valve to tool cylinder, rod end, no longer available, for service order one each of Refs. 19 and 20

1шт.

15

S240971

TUBE ASSY.,1.25" OD x 25, 5.9" L

TUBE - valve to tool cylinder, at tube clamp channel

2шт.

16

S98267

BRACKET

CHANNEL - clamp mounting, 6 inch (152 mm) long

1-2шт.

17

S99409

CHANNEL

- tube clamp, weld on, 16 inch (406 mm) long

1шт.

18

S93266

CLAMP

- tube

19шт.

19

S8626

HOSE ASSY.

HOSE - 60 inch, valve to tool cylinder, rod end

1шт.

20

218-739

UNION,1 5/16"-12, 37 Degree x 1 5/16"-12, 37 Degree

CONNECTOR - straight, 1-5/16-12 inch flare

1шт.

21

S98324

CLAMP

- tube

1шт.

Выбрано товаров: 22