Запчасти Case 1080 (206) - BOOM, ARM, AND TOOL CYLINDER HYDRAULIC CIRCUITS, E BOOM (35) - HYDRAULIC SYSTEMS

Схема запчастей Case 1080 - (206) - BOOM, ARM, AND TOOL CYLINDER HYDRAULIC CIRCUITS, E BOOM (35) - HYDRAULIC SYSTEMS
FIT
1:1
100%

Артикул

Название

Примечание

Количество

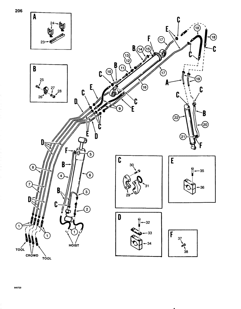
1

S8628

HOSE

- to tube lines, 36" (914 mm) long

6шт.

2

S238586

TUBE ASSY.,1.25" OD

TUBE - boom cylinder, rear port, short

1шт.

3

S514345

TUBE ASSY.,1.25" OD x 16.3, 4.84" L

TUBE - boom cylinder, rear port, long

1шт.

4

S615045

TUBE ASSY.,1.25" OD

TUBE - boom cylinder, front port

1шт.

5

S6586

O-RING,0.139" Thk x 1.484" ID, -222, Cl 6, 90 Duro

- tube to cylinder

1шт.

6

G105657

CYLINDER

- boom, parts list Fig. 252

1шт.

7

S614077

LINE,1.25" OD

TUBE - arem cylinder circuit

2шт.

8

S614078

LINE,1.25" OD

TUBE - tool cylinder circuit

2шт.

9

S229986

HOSE ASSY.

HOSE - to arm cylinder, 38" (965 mm) long

2шт.

10

S233817

TUBE,1.25" OD x 26.06, 0.56" L

- arm cylinder, rear

1шт.

11

L47556

CHECK VALVE

REGULATOR - flow, rod end of arm cylinder

1шт.

12

218-5039

HYD CONNECTOR,1-5/8" - 12 Male JIC x 1-5/16" - 12 Male ORB

ADAPTER - male, straight, Includes: Ref.#13

1шт.

13

218-5010

O-RING,0.116" Thk x 1.171" ID, -916, Cl 6, 90 Duro

- adapter

1шт.

14

S233816

TUBE,1.25" OD x 26.33, 0.32" L

- arm cylinder, front

1шт.

15

S6586

O-RING,0.139" Thk x 1.484" ID, -222, Cl 6, 90 Duro

- tube to cylinder

1шт.

16

G105662

CYLINDER

- arm, parts list Fig. 254

1шт.

17

S611734

TUBE,1.25" OD x 124.95, 2.98" L

- tool cylinder circuit

2шт.

18

S229987

HOSE ASSY.

HOSE - tool cylinder circuit

2шт.

19

S235041

TUBE ASSY.,1.25" OD x 15.44, 0.58" L

TUBE - extension, used with 10'5" (3.17 mm) arm only

2шт.

20

S235038

TUBE ASSY.,1.25" OD x 42.55, 0.92" L

TUBE - to tool cylinder front port

1шт.

21

S6586

O-RING,0.139" Thk x 1.484" ID, -222, Cl 6, 90 Duro

- tube to cylinder

1шт.

22

G105176

CYLINDER

- tool, parts list Fig. 258

1шт.

23

S105626

CHANNEL

- used with 10'5" (3.17 mm) arm only

1шт.

24

S93266

CLAMP

- used with 10'5" (3.17 mm) arm only

1шт.

25

113-311

BOLT,Hex, 7/16" - 14 x 1-1/2", Gr 5

5шт.

26

S106606

CLAMP

-, Serial Range: tubes-cylinders

10шт.

27

192-22

LOCK WASHER,7/16"

WASHER, LOCK, 7/16"

5шт.

28

129-104

NUT,7/16"-14, G5

5шт.

29

A12301

CLAMP,Half

SPLIT FLANGE - tube

24шт.

30

113-312

BOLT,Hex, 7/16" - 14 x 1-1/4", Gr 5

48шт.

31

S6586

O-RING,0.139" Thk x 1.484" ID, -222, Cl 6, 90 Duro

- tube

12шт.

32

113-177

BOLT,Hex, 5/16" - 18 x 3", Gr 5

20шт.

33

S112618

PLATE

- clamp

10шт.

34

S112617

CLAMP

- tube

10шт.

35

113-177

BOLT,Hex, 5/16" - 18 x 3", Gr 5

12шт.

36

S238598

CLAMP

- S614077 & S611734

6шт.

37

113-312

BOLT,Hex, 7/16" - 14 x 1-1/4", Gr 5

6шт.

38

113-319

BOLT,Hex, 7/16" - 14 x 2-1/2", Gr 5

6шт.

Выбрано товаров: 38