Запчасти Case 1080B (8-216) - BOOM, ARM, AND TOOL CIRCUITS (08) - HYDRAULICS

Схема запчастей Case 1080B - (8-216) - BOOM, ARM, AND TOOL CIRCUITS (08) - HYDRAULICS
FIT
1:1
100%

Артикул

Название

Примечание

Количество

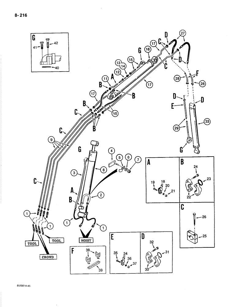
1

S233927

HOSE

- 36" (914 mm) long, valve to boom, arm, and boom cylinders

6шт.

2

S516744

TUBE,1.25" OD

- boom cylinder, closed end

1шт.

3

S613863

TUBE ASSY.,1.25" OD

TUBE - boom cylinder, rod end

1шт.

4

REF

INSTRUCTION

BRACKET - tube clamp, Serial Range: welded-cylinder

1шт.

5

S77469

CLAMP

- tube, closed end of cylinder

1шт.

6

195-104

WASHER,3/8"

- flat, , plated 3/8"

1шт.

7

131-52

NUT,3/8"-16, GC

NUT - hex, self-locking, 3/8" - 16 NC, plated

1шт.

8

S956693

CYLINDER

ASSEMBLY - boom, parts list Figure 8-260

1шт.

9

S516223

TUBE,1.25" OD x 105.31, 65.55" L

- arm and tool cylinders, at rear of boom

4шт.

10

S229986

HOSE ASSY.

HOSE - 38" (965 mm) long, arm cylinder

2шт.

11

S516224

TUBE,1.25" OD x 27.01, .51" L

- arm cylinder, rod end, rear section

1шт.

12

L47556

CHECK VALVE

REGULATOR - flow, rod end of arm cylinder

1шт.

13

218-5039

HYD CONNECTOR,1-5/8" - 12 Male JIC x 1-5/16" - 12 Male ORB

ADAPTER - male, straight, Includes: Ref. 14

1шт.

14

237-6016

O-RING,0.116" Thk x 1.171" ID, -916, Cl 6, 90 Duro

- adapter

1шт.

15

S233816

TUBE,1.25" OD x 26.33, 0.32" L

- arm cylinder, rod end, front section

1шт.

16

S956692

CYLINDER

ASSEMBLY - arm, parts list Figure 8-262

1шт.

17

S516226

TUBE,1.25" OD x 122.05, 10.04" L

- tool cylinder, at front of boom

2шт.

18

S106606

CLAMP

- tube, at cylinder

4шт.

19

813-10040

BOLT,Hex, M10 x 1.5 x 40mm, Cl 8.8

- hex head, 10 mm - 1.5 x 40 mm, plated

2шт.

20

892-1010

LOCK WASHER,M10

WASHER - lock, 10 mm, plated

2шт.

21

825-1010

NUT,M10, Cl 8

- hex, 10 mm - 1.5, plated

2шт.

22

A12301

CLAMP,Half

- split, tube

14шт.

23

S6586

O-RING,0.139" Thk x 1.484" ID, -222, Cl 6, 90 Duro

- tube

7шт.

24

113-312

BOLT,Hex, 7/16" - 14 x 1-1/4", Gr 5

- hex head, 7/16" - 14 NC x 1", plated

28шт.

25

S241558

CLAMP

- tube, at boom

14шт.

26

813-8075

BOLT,Hex, M8 x 1.25 x 75mm, Cl 8.8

- hex head, 8 mm - 1.25 x 75 mm, plated

28шт.

27

S229987

HOSE ASSY.

HOSE - 60" (1524 mm) long, tool cylinder

2шт.

28

S235041

TUBE ASSY.,1.25" OD x 15.44, 0.58" L

TUBE - tool cylinder, rear, 10 foot 5 inch (3.17 m) dipper only

2шт.

29

S516225

TUBE,1.25" OD x 44.02, .87" L

- tool cylinder, rod end

1шт.

30

A12301

CLAMP,Half

- split, tube

12шт.

31

S6586

O-RING,0.139" Thk x 1.484" ID, -222, Cl 6, 90 Duro

- tube

4-6шт.

32

113-312

BOLT,Hex, 7/16" - 14 x 1-1/4", Gr 5

- hex head, 7/16" - 14 NC x 1", plated

24шт.

33

S956691

CYLINDER

ASSEMBLY - tool, parts list Figure 8-264

1шт.

34

S106606

CLAMP

- tube, at cylinder

2шт.

35

813-10040

BOLT,Hex, M10 x 1.5 x 40mm, Cl 8.8

- hex head, 10 mm - 1.5 x 40 mm, plated

1шт.

36

892-1010

LOCK WASHER,M10

WASHER - lock, 10 mm, plated

1шт.

37

825-1010

NUT,M10, Cl 8

- hex, 10 mm - 1.5, plated

1шт.

38

S93266

CLAMP

- tube, at dipper, 10 foot 5 inch (3.17 m) dipper only

2шт.

39

S105626

CHANNEL

- clamp mounting, at dipper

1шт.

40

S6586

O-RING,0.139" Thk x 1.484" ID, -222, Cl 6, 90 Duro

- tube

3шт.

41

113-310

BOLT,Hex, 7/16" - 14 x 1", Gr 5

6шт.

42

113-319

BOLT,Hex, 7/16" - 14 x 2-1/2", Gr 5

6шт.

Выбрано товаров: 42