Запчасти Case 1088 (106) - HYDRAULIC CIRCUIT (35) - HYDRAULIC SYSTEMS

Схема запчастей Case 1088 - (106) - HYDRAULIC CIRCUIT (35) - HYDRAULIC SYSTEMS
30
8
21
18
14
29
28
31
5
11
7
2
33
16
23
12
13
26
32
16
4
17
24
6
10
20
34
3
15
1
27
25
12
9
16
12
19
16
22
14
12
25
FIT
1:1
100%

Артикул

Название

Примечание

Количество

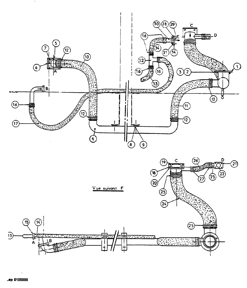
1

E837871

VANEUM GAUGE

SPARE PART

1шт.

2

Q7546084

GASKET

SEAL

1шт.

3

A134596

SAFETY NUT

M8

3шт.

4

G4250153

MANIFOLD

SPARE PART COLLECTOR

1шт.

5

F4250152

MANIFOLD

SPARE PART COLLECTOR

1шт.

6

N930454

O-RING,0.139" Thk x 2.859" ID, -233, Cl 5, 75 Duro

1шт.

7

300388

BOLT,Hex, M12 x 1.75 x 25mm, Cl 8.8

4шт.

8

300389

BOLT,M12 x 1.75 x 35mm, Cl 8.8

4шт.

9

E34596

SAFETY NUT

M12

4шт.

10

HOSE order R131989, length: 680 mm

1шт.

11

HOSE order J1031972, length 630 mm

1шт.

12

G136902

COLLAR CLAMP

60-80 mm

8шт.

13

H4250154

MANIFOLD

SPARE PART COLLECTOR

1шт.

14

N330430

O-RING,0.103" Thk x 0.862" ID, -118, Cl 6, 90 Duro

2шт.

15

86531615

HEX SOC SCREW,M6 x 20mm, Cl 8.8

4шт.

16

M36903

COLLAR CLAMP

16-27 mm

12шт.

17

HOSE order D1103635, length: 2500 mm

1шт.

18

A4050185

MANIFOLD

SPARE PART PIPE

1шт.

19

Q30351

O-RING

1шт.

20

L932936

SCREW

M16 x 35

4шт.

21

Z4050184

MANIFOLD

SPARE PART PIPE

1шт.

22

Z30451

O-RING

1шт.

23

87016466

HEX SOC SCREW,M12 x 25mm, Cl 8.8, Full Thd

4шт.

24

HOSE order N1031930, length: 680 mm

1шт.

25

K1236903

CLAMP

COLLAR 80-100 mm

4шт.

26

HOSE order F1331935, length 500 mm

1шт.

27

W36935

COLLAR CLAMP

40-60 mm

4шт.

28

D5137766

SHIN

BRACKET

1шт.

29

V5746063

GASKET

SEAL

1шт.

30

Q3237586

FITTING

CONNECTION

1шт.

31

864-6030

HEX SOC SCREW,M6 x 30mm, Cl 8.8

M6 x 25

4шт.

32

R3050114

PIPE

1шт.

33

PIPE order C1103634, length: 800 mm

4шт.

34

PIPE order C1103634, length 1000 mm

1шт.

Выбрано товаров: 34