Запчасти Case 1088 (142) - CONTROL VALVE (35) - HYDRAULIC SYSTEMS

Схема запчастей Case 1088 - (142) - CONTROL VALVE (35) - HYDRAULIC SYSTEMS
11
33
18
39
24
6
5
30
26
13
41
20
37
23
42
17
3
36
16
38
25
21
40
34
14
22
29
13
16
15
12
32
9
1
19
35
14
28
4
2
31
27
10
8
7
FIT
1:1
100%

Артикул

Название

Примечание

Количество

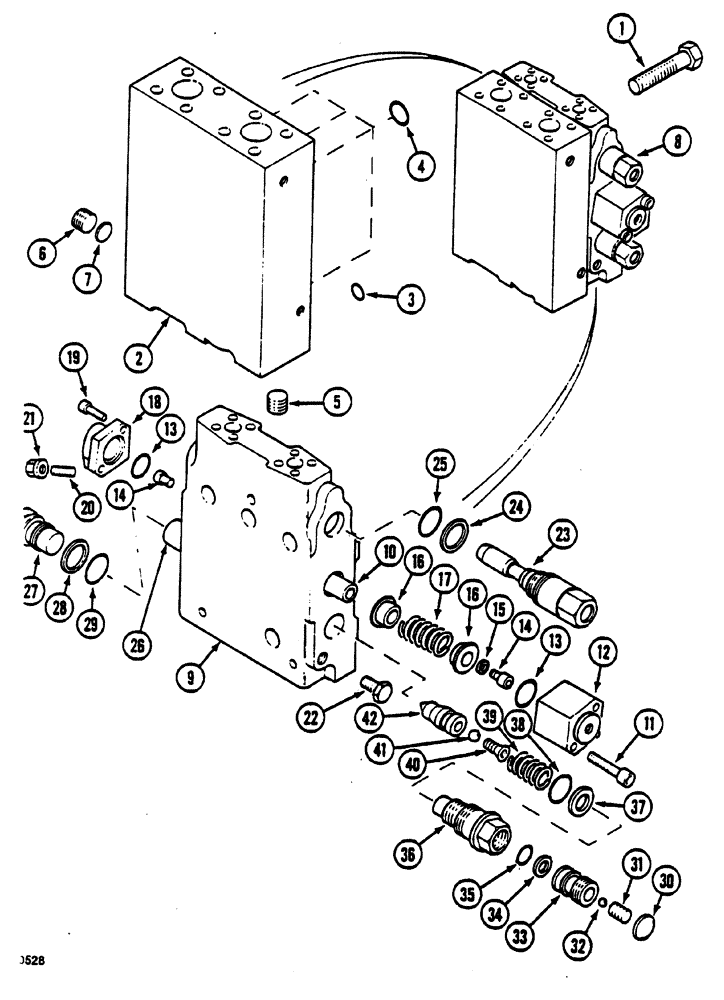
1

X32957

SCREW

M16 x 90

3шт.

2

X3143638

LARGE PLATE

PLATE, LARGE Consists of: Refs. 3-7

1шт.

3

U2230466

O-RING,0.07" Thk x 0.489" ID, -14, Cl 6, 90 Duro

1шт.

4

V2230467

O-RING,0.103" Thk x 1.11" ID, -122, Cl 5, 75 Duro

4шт.

5

M3037414

PLUG

1шт.

6

E737453

PLUG

1шт.

7

R645050

HOLE PLUG BUTTON

1шт.

8

S3343618

DISTRIBUTOR

BLOCK selector, Consists of: Refs. 9-42

1шт.

9

NSS

NOT SOLD SEPARAT

BODY order S3343618

1шт.

10

NSS

NOT SOLD SEPARAT

SPOOL order S3343618

1шт.

11

931527R1

HEX SOC SCREW,M8 x 65mm, Cl 10.9

2шт.

12

F2340462

CAP

COVER

1шт.

13

S2230464

O-RING

2шт.

14

K1432932

SCREW,Hex, M8 x 10, 10.9

2шт.

15

V1945382

WASHER

1шт.

16

S7646228

CUPEL

2шт.

17

A38295

SPRING

1шт.

18

T5140379

CAP

COVER

1шт.

19

Q732909

BOLT,Hex, M8 x 25, 8.8

M8 x 25, 10.9

2шт.

20

W3333042

STUD

1шт.

21

Q2434541

NUT

1шт.

22

C3037405

PLUG

1шт.

23

L3143696

SHOCK ABSORBER

Consists of: Refs. 24 and 25

2шт.

24

N1245232

RING

BUSHING

1шт.

25

R2230463

O-RING,0.103" Thk x 0.987" ID, -120, Cl 5, 75 Duro

1шт.

26

NSS

NOT SOLD SEPARAT

SPOOL order S3343618

1шт.

27

D3037406

PLUG

1шт.

28

N1245232

RING

BUSHING

2шт.

29

R2230463

O-RING,0.103" Thk x 0.987" ID, -120, Cl 5, 75 Duro

2шт.

30

E2340461

BLANK-OFF PLUG

1шт.

31

W3333065

SCREW

1шт.

32

W31001

BALL

1шт.

33

F7946229

SPARE PART SET

1шт.

34

M1245231

BACK-UP RING

1шт.

35

Q2230462

O-RING,0.103" Thk x 0.549" ID, -113, Cl 6, 90 Duro

1шт.

36

U2340475

CAP

COVER

1шт.

37

N1245232

RING

BUSHING

2шт.

38

R2230463

O-RING,0.103" Thk x 0.987" ID, -120, Cl 5, 75 Duro

2шт.

39

H1538155

SPRING

1шт.

40

X3333043

SCREW

1шт.

41

X31002

BALL

1шт.

42

K7946210

PISTON

1шт.

Выбрано товаров: 42