Качественные детали и логистика
Оригинальные и аналоговые запчасти с доставкой по России, Казахстану и Беларуси
©2022 PartSell ООО "Система" ИНН 2463123282 ОГРН 1212400004838
Центральный офис: г. Красноярск, Академика Киренского, д.87, пом.4
Телефон: 8 (800) 777-65-74 Email: zakaz@partsell.ru
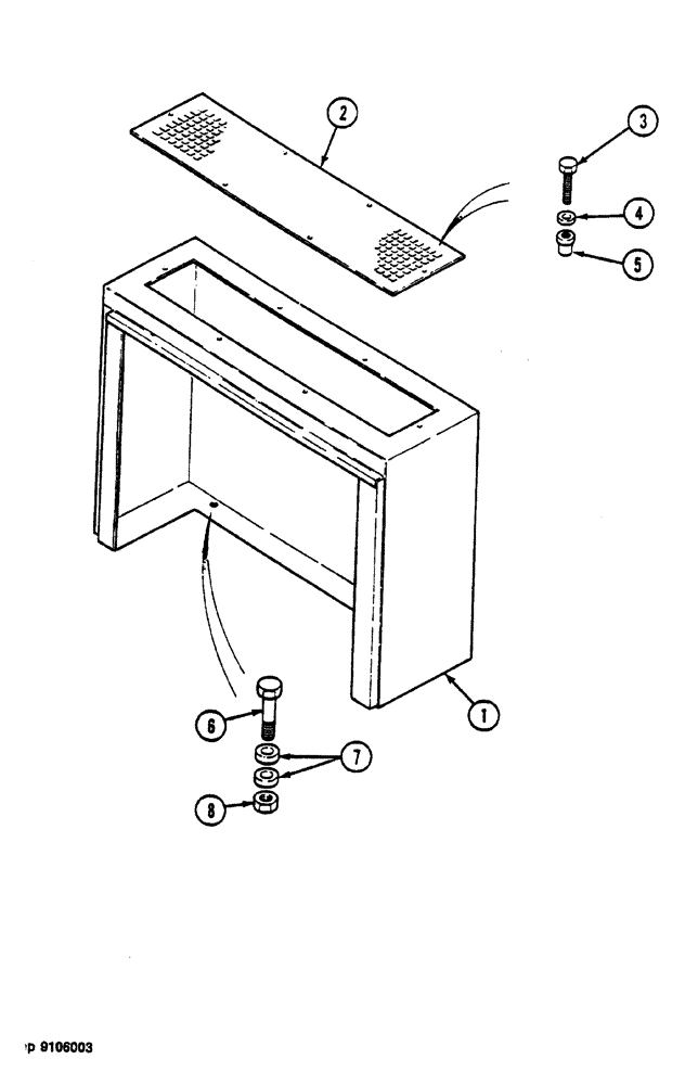
(150) - SUCTION BOX
№
Артикул
Название
Примечание
Количество
1
P1155602
CHASSIS
SPARE PART BOX suction
1шт.
2
H2648411
HOOD
PLATE
3
120104
BOLT,Hex, M8 x 1.25 x 20mm, Cl 8.8
M8 x 35 x 35
6шт.
4
V3528794
WASHER
8.25 x 6 x 20
5
V1334571
NUT
M8
6
X1633895
SCREW
M20 x 70
4шт.
7
X3528796
21 x 14 x 35
8шт.
8
M134124
M20
Выбрано товаров: 0