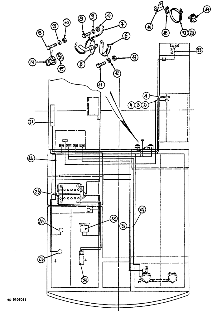
Запчасти Case 1088 (072) - ELECTRICAL CIRCUIT (55) - ELECTRICAL SYSTEMS

Схема запчастей Case 1088 - (072) - ELECTRICAL CIRCUIT (55) - ELECTRICAL SYSTEMS
24
9
2
26
9
22
30
6
14
10
20
7
17
8
12
5
28
8
29
15
13
10
25
27
19
23
3
11
1
16
4
18
21
FIT
1:1
100%

Артикул

Название

Примечание

Количество

1

X1652203

CABLE

1шт.

2

CABLE order V4573, length 6000 mm

1шт.

3

E141431

GLAND

packing

1шт.

4

N141439

NUT

GLAND packing

1шт.

5

E641221

CIRCUIT-BREAKER

SHUTOFF batteries

1шт.

6

L41824

NEG BATTERY CABLE

STRIP

1шт.

7

P31523

CHAIN (AG)

1шт.

8

86977786

BOLT,Hex, M6 x 1 x 25mm, Cl 8.8

8шт.

9

B3528799

WASHER

6.25 x 4 x 15

8шт.

10

15896221

NUT,Hex, M6, 5.20mm High, Cl 10

8шт.

11

43127

BOLT,Hex, M8 x 1.25 x 25mm, Cl 8.8

1шт.

12

V3528794

WASHER

8.25 x 6 x 20

1шт.

13

43362

NUT,M8 x 1.25, Cl 10

1шт.

14

N40745

PEDESTAL

SOCKET

1шт.

15

H40740

PEDESTAL

SOCKET

1шт.

16

Z2036902

CLASP

3-7

1шт.

17

G3036926

BASE

SUPPORT

1шт.

18

PP2036939

CLASP

1шт.

19

V336923

CLAMP

COLLAR 117 mm

1шт.

20

N51946

CLAMP

COLLAR 258 mm

1шт.

21

PANEL control, see Fig. 074

1шт.

22

R1352208

CABLE

HARNESS wire

1шт.

23

BATTERY see Fig. 084

2шт.

24

F1352267

CABLE

HARNESS wire

1шт.

25

U1352280

HARNESS

wire

1шт.

26

R1352277

HARNESS

wire

1шт.

26

T1352279

HARNESS

wire

1шт.

27

T1241879

ELECTRO/HYD CONTACT

1шт.

28

E3743277

SENSOR,1/2" - 14

1шт.

29

ALTERNATOR see standard catalog

1шт.

30

STARTER see standard catalog

1шт.

Выбрано товаров: 31