Запчасти Case 1088 (7-18) - TRAVEL SPEED LIMITER VALVE, P.I.N. FROM 19801 TO 20241 P.I.N. FROM 106901 TO 106939 (07) - BRAKES

Схема запчастей Case 1088 - (7-18) - TRAVEL SPEED LIMITER VALVE, P.I.N. FROM 19801 TO 20241 P.I.N. FROM 106901 TO 106939 (07) - BRAKES
FIT
1:1
100%

Артикул

Название

Примечание

Количество

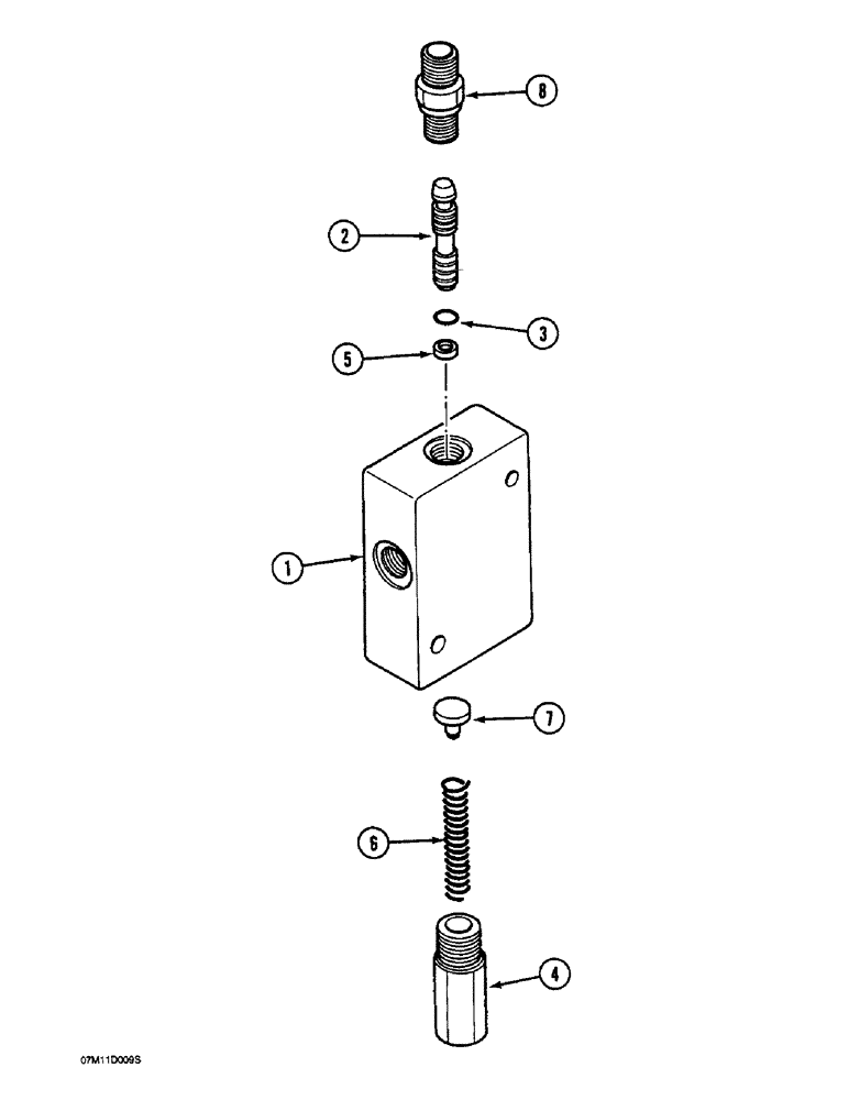
P4343359

SPEED LIMITER

VALVE ASSEMBLY - travel speed limiter, (Inching control), Includes: Ref. 1 - 8

1шт.

1

NSS

NOT SOLD SEPARAT

BLOCK - valve

1шт.

2

P6427817

SPOOL

- valve

1шт.

3

P230411

O-RING,0.07" Thk x 0.239" ID, -10, Cl 5, 75 Duro

- spool

1шт.

4

P1030028

CAP

- spring

1шт.

5

P1245265

BACK-UP RING

BACKUP RING - seal

1шт.

6

P1538196

COMPRESSION SPRING

SPRING - spool

1шт.

7

P6027871

TAPPET

GUIDE - spring

1шт.

8

P3237530

UNION

ADAPTER - straight

1шт.

P7046042

SEAL

- adapter

1шт.

Выбрано товаров: 0