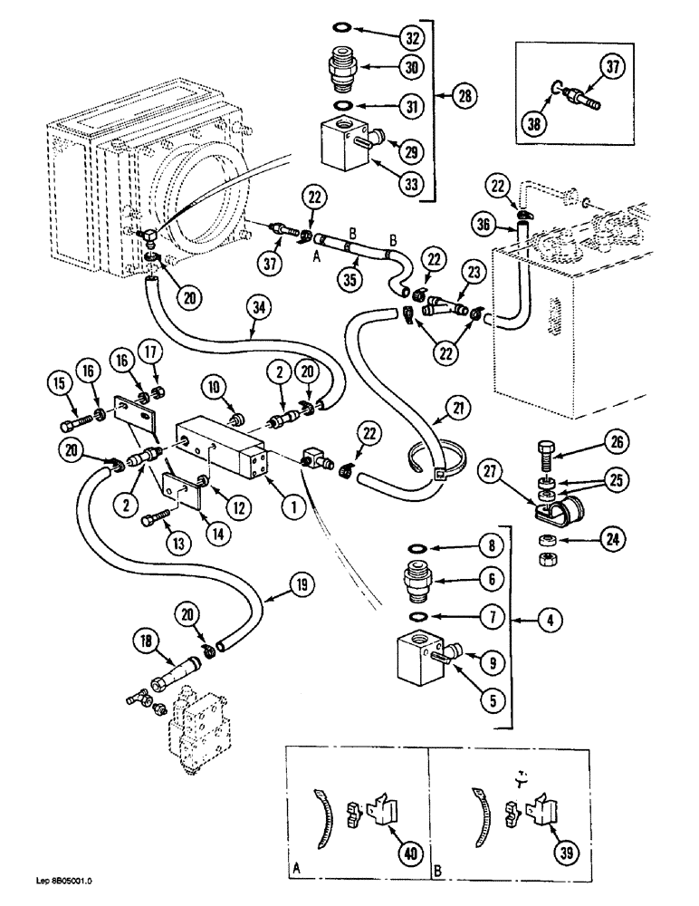
Запчасти Case 1088 (8B-26) - HYD. PUMP LINES, THERMOSTAT-CONTROLLED VALVE, P.I.N. FROM 19801 - XXXXX, P.I.N. FROM 106901 - XXXXX (08) - HYDRAULICS

Схема запчастей Case 1088 - (8B-26) - HYD. PUMP LINES, THERMOSTAT-CONTROLLED VALVE, P.I.N. FROM 19801 - XXXXX, P.I.N. FROM 106901 - XXXXX (08) - HYDRAULICS
FIT
1:1
100%

Артикул

Название

Примечание

Количество

1

REF

INSTRUCTION

THERMOSTAT-CONTROLLED VALVE - return, (Parts list Figure 8B-60)

1шт.

2

P4237531

FITTING

ADAPTER - straight, barb hose type

2шт.

P5746063

SEAL

-adapter

1шт.

4

P5137722

FITTING

ADAPTER ASSEMBLY - return hoses, at valve and reservoir, Includes: Ref. 5 - 9

2шт.

5

P35725

SPLIT PIN/SAFETY PIN

ROLL PIN - adapter body

2шт.

6

P4037541

LARGE PIN

ADAPTER - straight

1шт.

7

P430411

O-RING

- adapter

1шт.

8

P5746063

SEAL

- adapter

1шт.

9

P5137721

BODY

- adapter

1шт.

10

P2537413

PLUG

- thermostat-controlled valve

1шт.

P1145268

SEAL

- plug

1шт.

12

P4328796

WASHER

SPACER - bolt, 7 mm thick

2шт.

13

11106231

BOLT,Hex, M10 x 1.5 x 25mm, Cl 10.9

BOLT, Hex, M10 x 25, 10.9, Full Thd

2шт.

14

P4427133

SUPPORT

BRACKET - valve mounting

1шт.

15

P1133839

SCREW

BOLT - hex, 10 mm x 45 mm

2шт.

16

P3528795

WASHER

SPACER - bolt, 7 mm thick

4шт.

17

P34598

SAFETY NUT

NUT - hex, self-locking, 10 mm

2шт.

18

P5137757

TRANSMISSION SLEEVE

COUPLING - return, at oil cooler

1шт.

19

REF

INSTRUCTION

HOSE - coupling to valve, 12-1/2 inch long, cut from P1103645

1шт.

20

P36902

COLLAR CLAMP

CLAMP - hose, large

4шт.

21

REF

INSTRUCTION

HOSE - valve to reservoir, 70-7/8 inch long, cut from P1103635

1шт.

21

REF

INSTRUCTION

HOSE - valve to reservoir, 49-3/16 inch long, cut from P1103635

1шт.

22

P36998

COLLAR CLAMP

CLAMP - hose, small

4шт.

23

P3750197

MANIFOLD

- cooler return

1шт.

24

P3528799

WASHER

SPACER - 4 mm

1шт.

25

P35020

WASHER

SPACER - bolt, 7 mm thick

1шт.

26

86977786

BOLT,Hex, M6 x 1 x 25mm, Cl 8.8

Hex, M6 x 25, 8.8, Full Thd

1шт.

27

P51959

CLAMP

- hose

1шт.

28

P5137755

FITTING

ADAPTER ASSEMBLY - return hoses, at pump and reservoir, Includes: Ref. 29 - 33

2шт.

29

P5137758

BODY

- adapter

1шт.

30

P4037541

LARGE PIN

ADAPTER - straight

1шт.

31

P430411

O-RING

- adapter

1шт.

32

P5746063

SEAL

- adapter

1шт.

33

P35725

SPLIT PIN/SAFETY PIN

ROLL PIN - adapter body

2шт.

34

REF

INSTRUCTION

HOSE - cooler to coupling, 24-13/16 inch long, cut from P1103645

1шт.

35

REF

INSTRUCTION

HOSE - cooler to reservoir, cooler portion, 49-3/16 inch long, cut from P1103635

1шт.

36

REF

INSTRUCTION

HOSE - cooler to reservoir, reservoir portion, 19-3/4 inch long, cut from P1103635

1шт.

37

P4837545

FITTING

ADAPTER - straight, barb hose type, (Replaces P3237582)

1шт.

38

P5746063

SEAL

- adapter

1шт.

39

P2036902

CLASP

CLIP - retainer, 1/8 inch - 1/4 inch range

1шт.

40

P2036903

CLASP

CLIP - retainer, 5/16 inch - 1/2 inch range

1шт.

Выбрано товаров: 41