Запчасти Case 1088 (8B-54) - ANTI SURGE VALVE, P.I.N. FROM 19801 TO XXXXX (08) - HYDRAULICS

Схема запчастей Case 1088 - (8B-54) - ANTI SURGE VALVE, P.I.N. FROM 19801 TO XXXXX (08) - HYDRAULICS
FIT
1:1
100%

Артикул

Название

Примечание

Количество

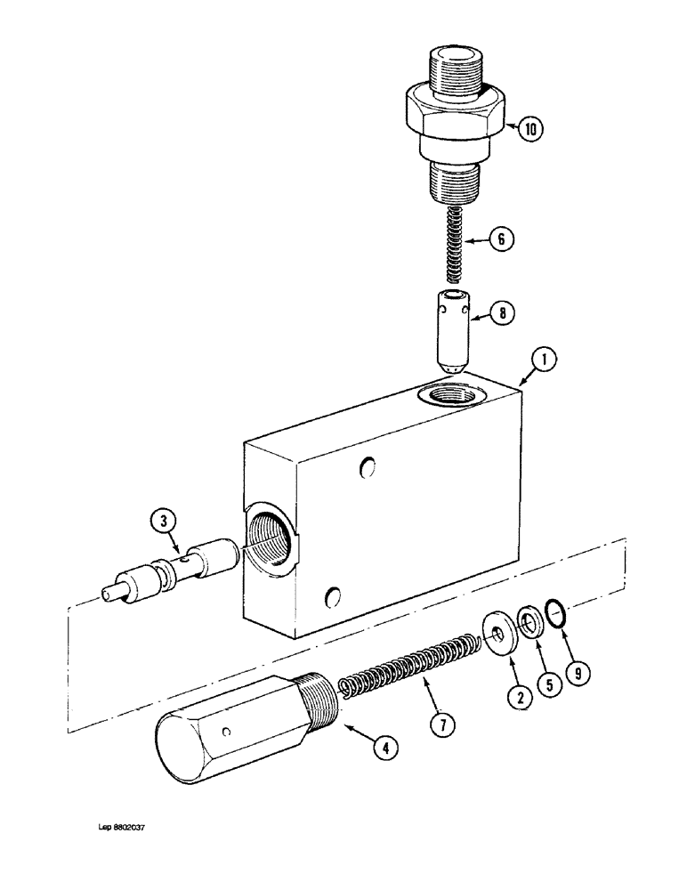
P4043323

BLOCK ASSY.

TIME-RELAY SELECTOR VALVE ASSEMBLY - control, Includes: Ref. 1 - 10

1шт.

1

NSS

NOT SOLD SEPARAT

BODY - valve

1шт.

2

P3145321

WASHER

RETAINER - spring

1шт.

3

NSS

NOT SOLD SEPARAT

SPOOL - valve

1шт.

4

P1030020

CAP

COVER - selector spring

1шт.

5

P1145230

BACK-UP RING

BACKUP RING - spool O-ring

1шт.

6

P1538165

SPRING

- poppet

1шт.

7

P1538166

SPRING

- spool

1шт.

8

P1729838

VALVE POPPET

POPPET - valve

1шт.

9

P1730422

O-RING,0.07" Thk x 0.18" ID, -8, Cl 5, 75 Duro

- poppet

1шт.

10

P4237508

UNION

ADAPTER - block

1шт.

P7046042

SEAL

- adapter, not shown

1шт.

Выбрано товаров: 12