Запчасти Case 1088 (1-22) - PICTORIAL INDEX, OPTIONAL HYDRAULIC CIRCUIT (00) - PICTORIAL INDEX

Схема запчастей Case 1088 - (1-22) - PICTORIAL INDEX, OPTIONAL HYDRAULIC CIRCUIT (00) - PICTORIAL INDEX
FIT
1:1
100%

Артикул

Название

Примечание

Количество

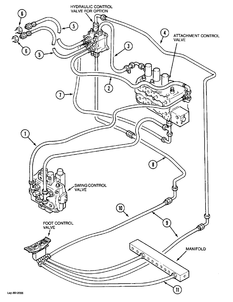
1

Hose, Attachment Control Valve to Swing Control Valve, Pressure, Pages 8F-6, 8F-8

1шт.

2

Hose, Attachment Control Valve to Optional Hydraulic Control Valve, Pages 8F-6, 8F-8

1шт.

3

Tube, Optional Hydraulic Control Valve to Hydraulic Control Valve, Pages 8F-6, 8F-8

1шт.

4

Tube, Optional Hydraulic Control Valve to Foot Control Valve, Pages 8F-6, 8F-8

1шт.

5

Hoses, Optional Hydraulic Control Valve to Attachment Tubes, (See page 1-24 for continuation), Pages 8F-6, 8F-8

1шт.

6

Tubes, (See page 1-24 for continuation), Pages 8F-6, 8F-8

1шт.

7

Hose, Return Optional Hydraulic Control Valve to Attachment Control Valve, Pages 8F-6, 8F-8

1шт.

8

Tube, Optional Hydraulic Control Valve to Foot Control Valve, Pages 8F-6, 8F-8

1шт.

9

Hose, Foot Control Valve to Tubes, Pages 8F-2, 8F-3A

1шт.

10

Hose, Foot Control Valve to Tubes, Pages 8F-2, 8F-3A

1шт.

11

Hoses, Foot Control Valve to Manifold, Pages 8F-2, 8F-3A

1шт.

Выбрано товаров: 11