Запчасти Case 1088 (8G-10) - BLOCK ASSEMBLY, BOOM HOSES (08) - HYDRAULICS

Схема запчастей Case 1088 - (8G-10) - BLOCK ASSEMBLY, BOOM HOSES (08) - HYDRAULICS
FIT
1:1
100%

Артикул

Название

Примечание

Количество

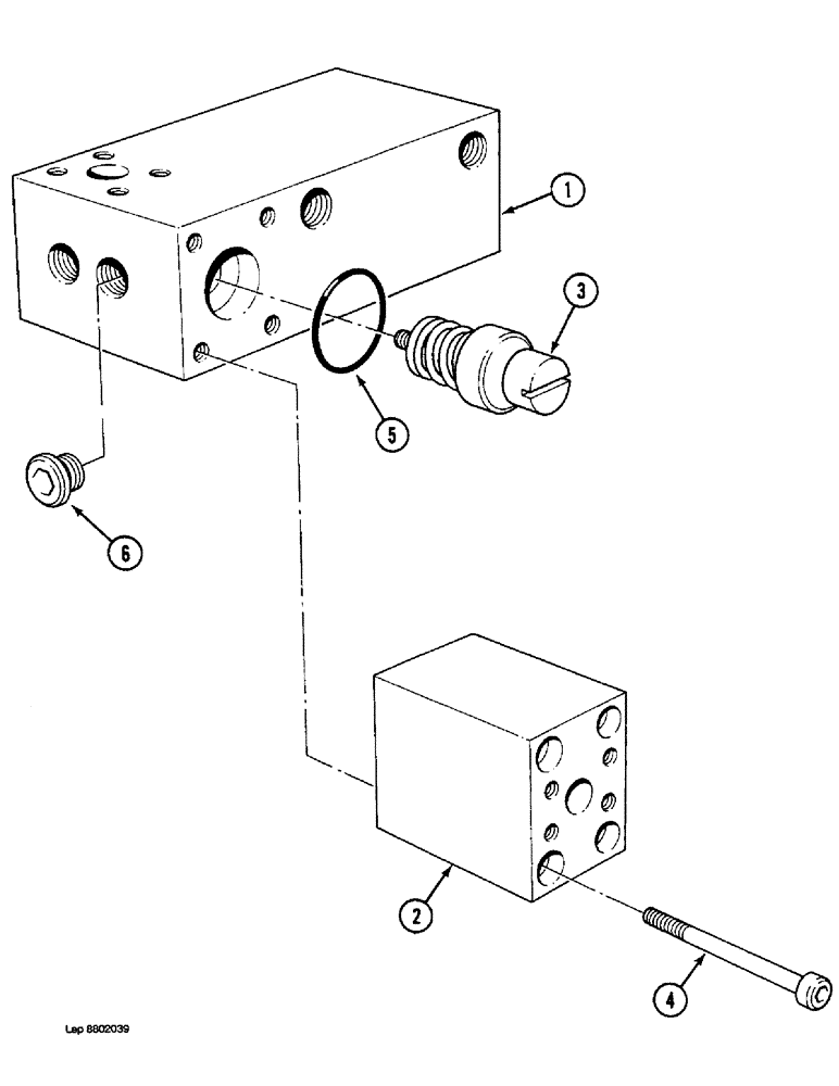
P3743348

BLOCK ASSY.

BLOCK ASSEMBLY - hose manifold, Includes: Ref. 1 - 6

1шт.

1

NSS

NOT SOLD SEPARAT

BLOCK - hose manifold

1шт.

2

P4223340

SHIN

BLOCK - adapter to manifold, (Order P4343361 and P1032924)

1шт.

2

P4343361

SHIN

BLOCK -, Serial Range: adapter-manifold

1шт.

3

P4043320

LIMITER, TRAVEL

RESTRICTOR - at manifold block

1шт.

4

P1232991

SCREW

BOLT - hex socket, 10 mm x 105 mm, grade 10.9

4шт.

4

P1032924

SCREW

BOLT - adapter to manifold, 10 mm x 110 mm, grade 10.9

4шт.

5

P330436

O-RING

- adapter to manifold block

1шт.

6

P2537413

PLUG

- manifold block

2шт.

P1145268

SEAL

- plug, not shown

1шт.

Выбрано товаров: 10