Качественные детали и логистика
Оригинальные и аналоговые запчасти с доставкой по России, Казахстану и Беларуси
©2022 PartSell ООО "Система" ИНН 2463123282 ОГРН 1212400004838
Центральный офис: г. Красноярск, Академика Киренского, д.87, пом.4
Телефон: 8 (800) 777-65-74 Email: zakaz@partsell.ru
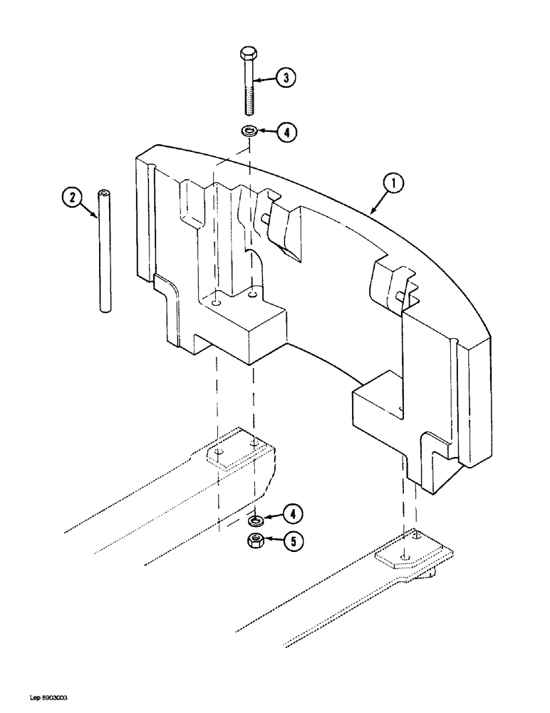
(9A-08) - COUNTERWEIGHT
№
Артикул
Название
Примечание
Количество
1
P603820
BALANCER
COUNTERWEIGHT - excavator
1шт.
2
REF
INSTRUCTION
SEAL - counterweight, 29-3/4" long, cut from P1303179
2шт.
3
P433848
SCREW
BOLT - hex, 27 mm x 305 mm
4шт.
4
P4328721
WASHER
SPACER - bolt, 19 mm thick, 60 mm OD
6шт.
5
P634504
NUT
- hex, self-locking, 27 mm
Выбрано товаров: 0