Запчасти Case 1088 (9E-22) - CAB WINDSHIELD, P.I.N. FROM XXXXX AND AFTER, P.I.N. FROM 106901 AND AFTER (09) - CHASSIS/ATTACHMENTS

Схема запчастей Case 1088 - (9E-22) - CAB WINDSHIELD, P.I.N. FROM XXXXX AND AFTER, P.I.N. FROM 106901 AND AFTER (09) - CHASSIS/ATTACHMENTS
FIT
1:1
100%

Артикул

Название

Примечание

Количество

P8443828

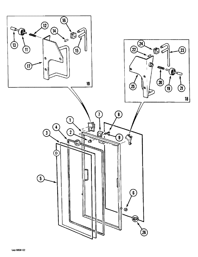
CAB

ASSEMBLY - excavator, Includes: Ref. 1 - 26

1шт.

P1347086

WINDSHIELD

ASSEMBLY - cab, Includes: Ref. 1 - 25

1шт.

1

NSS

NOT SOLD SEPARAT

FRAME - windshield

1шт.

2

P234587

NUT

RETAINER - bolt, clip type

2шт.

3

P1347088

GLASS

- windshield

1шт.

4

P8046008

SEAL

RETAINER -, Serial Range: glass-frame

1шт.

5

REF

INSTRUCTION

SEAL - windshield glass, 15 ft 1-1/4 inch long, cut from P346008

1шт.

6

P139633

BEARING

BALL BEARING - windshield track, at frame

2шт.

7

P3226175

SUPPORT

BRACKET - wiper terminal switch, (See Figure 4-20 and 4-22 for switches and wiring), (Replaces P2826130)

1шт.

8

120104

BOLT,Hex, M8 x 1.25 x 20mm, Cl 8.8

BOLT, Hex, M8 x 20, 8.8, Bracket to frame

2шт.

9

P745438

WASHER

- flat, 8 mm

2шт.

10

P1352037

LATCH ASSY.

HANDLE ASSEMBLY - windshield release, right-hand, Includes: Ref. 11 - 17

1шт.

11

P139633

BEARING

BALL BEARING - windshield track, at release bracket

1шт.

12

P738143

COMPRESSION SPRING

SPRING - plunger return

1шт.

13

NSS

NOT SOLD SEPARAT

PLUNGER - windshield release

1шт.

14

P35720

SPLIT PIN/SAFETY PIN

ROLL PIN -, Serial Range: lever-plunger

1шт.

15

NSS

NOT SOLD SEPARAT

HANDLE - windshield release, right-hand

1шт.

16

NSS

NOT SOLD SEPARAT

LEVER - lock plunger

1шт.

17

NSS

NOT SOLD SEPARAT

BRACKET - windshield release right-hand

1шт.

18

P1352038

LATCH ASSY.

HANDLE ASSEMBLY - windshield release, left-hand, Includes: Ref. 19 - 25

1шт.

19

P139633

BEARING

BALL BEARING - windshield track, at release bracket

1шт.

20

P738143

COMPRESSION SPRING

SPRING - plunger return

1шт.

21

NSS

NOT SOLD SEPARAT

PLUNGER - windshield release

1шт.

22

P35720

SPLIT PIN/SAFETY PIN

ROLL PIN -, Serial Range: lever-plunger

1шт.

23

NSS

NOT SOLD SEPARAT

HANDLE - windshield release, left-hand

1шт.

24

NSS

NOT SOLD SEPARAT

LEVER - lock plunger

1шт.

25

NSS

NOT SOLD SEPARAT

BRACKET - windshield release, left-hand

1шт.

26

REF

INSTRUCTION

SEAL - 70-7/8" long, windshield to cab, cut from P1303155

1шт.

Выбрано товаров: 28