Запчасти Case 1088 (2-04) - AIR INTAKE PARTS (02) - ENGINE

Схема запчастей Case 1088 - (2-04) - AIR INTAKE PARTS (02) - ENGINE
FIT
1:1
100%

Артикул

Название

Примечание

Количество

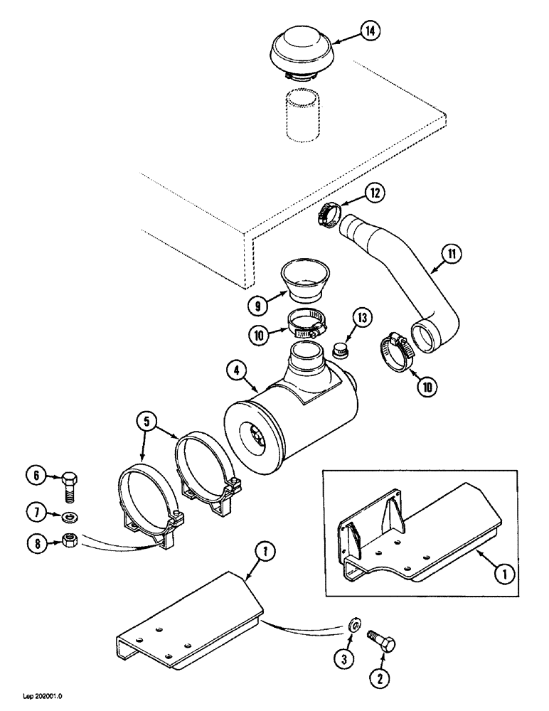
1

P7128288

SUPPORT

BRACKET - air cleaner mounting, Serial Range: 19801-20209

1шт.

1

P7828216

SUPPORT

BRACKET - air cleaner mounting, Serial Range: 106901-106904

1шт.

1

P7828216

SUPPORT

BRACKET - air cleaner mounting, Start Serial: 20210

1шт.

2

P33873

SCREW

BOLT - hex, 12 mm x 25 mm, Start Serial: 106905

2шт.

3

P4328797

WASHER

SPACER - bolt, 8 mm thick

2шт.

4

REF

INSTRUCTION

AIR CLEANER ASSEMBLY - engine, (See Figure 2-6)

1шт.

5

P1036911

CLAMP

BAND - air cleaner

2шт.

6

P933890

SCREW

BOLT - hex, 10 mm x 30 mm, full thread

4шт.

7

P3528795

WASHER

SPACER - bolt, 7 mm thick

4шт.

8

P34598

SAFETY NUT

NUT - hex, self locking, 10 mm

4шт.

9

P8846036

SEAL

- air, Serial Range: cleaner-hood

1шт.

10

P136901

CLAMP

- air cleaner to seal, (Order P1236903)

2шт.

11

P6631942

LARGE HOSE

HOSE - air, Serial Range: cleaner-turbocharger

1шт.

12

P1236903

CLAMP

-, Serial Range: hose-turbocharger

1шт.

13

P5837749

INDICATOR

SENDER - air restriction indicator, (Replaces P2141684)

1шт.

14

P740431

CAP

COVER - air cleaner

1шт.

Выбрано товаров: 16