Запчасти Case 1088 (4-46) - ELECTRICAL SYSTEM CIRCUIT BOARD (04) - ELECTRICAL SYSTEMS

Схема запчастей Case 1088 - (4-46) - ELECTRICAL SYSTEM CIRCUIT BOARD (04) - ELECTRICAL SYSTEMS
FIT
1:1
100%

Артикул

Название

Примечание

Количество

P151695

BOARD, PRINTED CIRCU

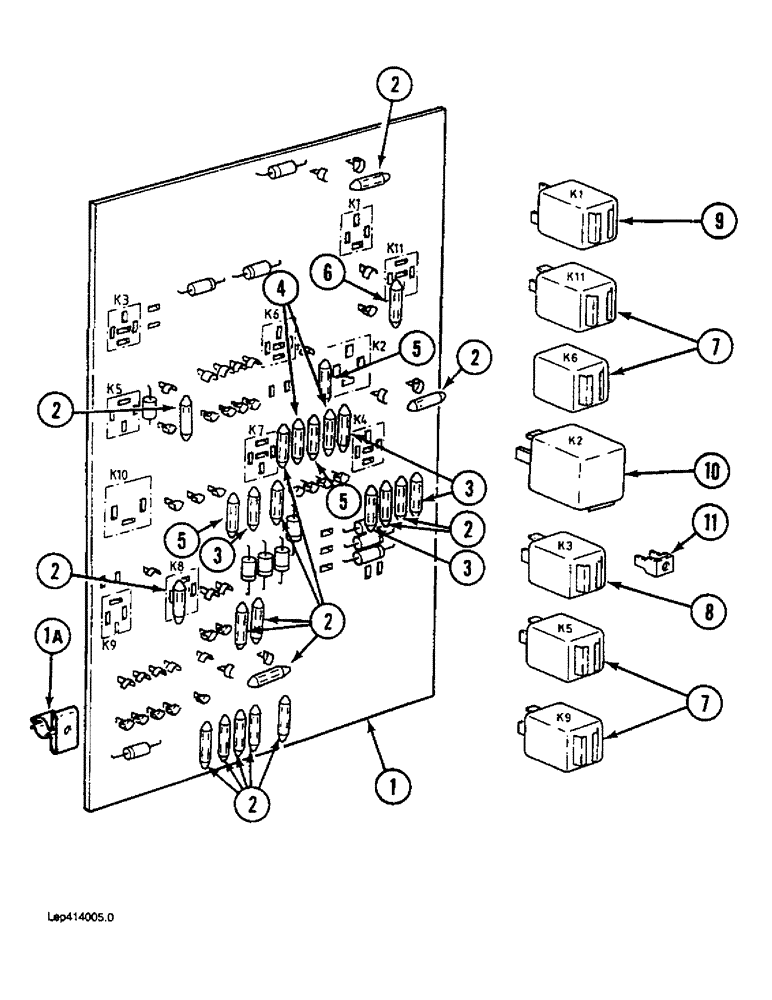
CIRCUIT BOARD ASSEMBLY - electrical system, Includes: Ref. 1 - 5

1шт.

1

NSS

NOT SOLD SEPARAT

CIRCUIT BOARD - electrical system

1шт.

1a

P3836945

CLASP

- circuit board

4шт.

2

P841297

FUSE

- circuit, 5 amp

16шт.

3

P841296

FUSE

- circuit, 8 amp

4шт.

4

P841295

FUSE

- circuit, 10 amp

2шт.

5

P841294

FUSE

- circuit, 16 amp

3шт.

7

P3041116

IGNITION SWITCH

MAGNETIC SWITCH - plug-in type

4шт.

8

P3041117

IGNITION SWITCH

MAGNETIC SWITCH - plug-in type, 12 volt

1шт.

9

P2041169

RELAY

MAGNETIC SWITCH - plug-in type, starter

1шт.

10

P2041150

IGNITION SWITCH

MAGNETIC SWITCH - bolt-on type

1шт.

11

P640961

CONNECTION

CLIP - connector, printed circuit

1шт.

Выбрано товаров: 12