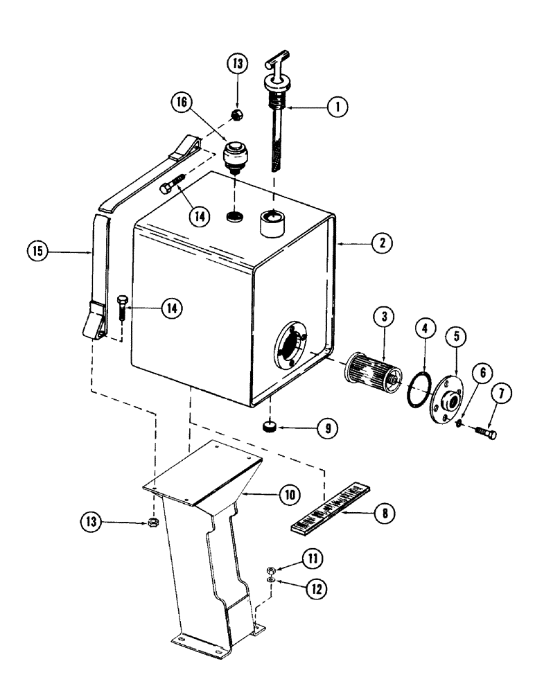
Запчасти Case 980 (144) - HYDRAULIC OIL RESERVOIR AND RELATED PARTS (07) - HYDRAULIC SYSTEM

Схема запчастей Case 980 - (144) - HYDRAULIC OIL RESERVOIR AND RELATED PARTS (07) - HYDRAULIC SYSTEM
FIT
1:1
100%

Артикул

Название

Примечание

Количество

1

S93220

DIPSTICK

ASSEMBLY

1шт.

2

S506161

TANK

RESERVOIR, hydraulic oil

1шт.

3

S26293

FILTER SCREEN

SCREEN, hydraulic oil

1шт.

4

S6334

O-RING,0.139" Thk x 4.234" ID, -244, Cl 5, 75 Duro

"O" RING - 4.234" ID x 4.500" OD

1шт.

5

S200926

FLANGE, filter mounting

1шт.

6

D26270

WASHER, SEALING

WASHER, seal

1шт.

7

113-123

BOLT,Locking, 5/16" - 18 x 1", Gr 5

- 5/16" - 18 NC x 1"

4шт.

8

S94118

PAD

rubber (Hydraulic tank)

1шт.

9

221-845

PLUG,Hex Soc, 3/4"-14

pipe - 3/4" NPT

1шт.

10

S506190

BRACKET, mounting

1шт.

11

131-70

NUT,1/2"-13, GB

NUT, 1/2" - 13 NC

4шт.

12

S95569

WASHER

flat - 17/32"

4шт.

13

131-52

NUT,3/8"-16, GC

NUT - 3/8" - 16 NC

4шт.

14

113-219

BOLT,Hex, 3/8" - 16 x 2", Gr 5

- 3/8" - 16 NC x 1-3/4"

4шт.

15

S92073

STRAP

BRACKET, reservoir mounting

2шт.

16

S91864

BREATHER

1шт.

Выбрано товаров: 16