Запчасти Case 980 (164) - HYDRAULIC OIL FILTER (07) - HYDRAULIC SYSTEM

Схема запчастей Case 980 - (164) - HYDRAULIC OIL FILTER (07) - HYDRAULIC SYSTEM
FIT
1:1
100%

Артикул

Название

Примечание

Количество

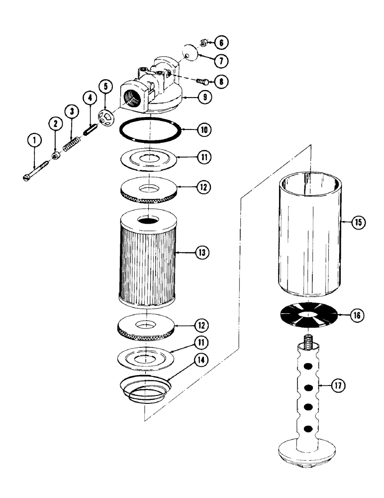
S209408

FILTER

hydraulic oil

1шт.

1

169-86

SCREW,Fil Hd, #8 - 32 x 1 3/4"

machine

1шт.

2

T29780

CYLINDER END CAP

CAP, by-pass stem

1шт.

3

S62431

SPRING

by-pass - 5 PSI

1шт.

4

T29783

SPACER

by-pass

1шт.

5

T29784

GUIDE

by-pass valve

1шт.

6

131-552

NUT,#8-32

NUT

1шт.

7

T29785

VALVE

by-pass

1шт.

8

221-1663

PLUG,Hex Hd, 3/8"-18

pipe - 3/8" NPT

1шт.

9

S60100

HEAD

1шт.

10

T29789

SEALING RING,4.35" ID x 0.25" Width

"O" RING

1шт.

11

T29790

WASHER

back-up

2шт.

12

W12214

GASKET

2шт.

13

S62434

FILTER, ELEMENT

ELEMENT, filter - 20 micron

1шт.

14

T29793

SPRING

conical

1шт.

15

T29794

HOUSING

filter

1шт.

16

T29795

GASKET

1шт.

17

T29796

SUPPORT

POST, center

1шт.

Выбрано товаров: 18