Запчасти Case 980 (114) - INNER BRAKE SWIVEL AND RELATED PARTS (04) - UNDERCARRIAGE

Схема запчастей Case 980 - (114) - INNER BRAKE SWIVEL AND RELATED PARTS (04) - UNDERCARRIAGE
FIT
1:1
100%

Артикул

Название

Примечание

Количество

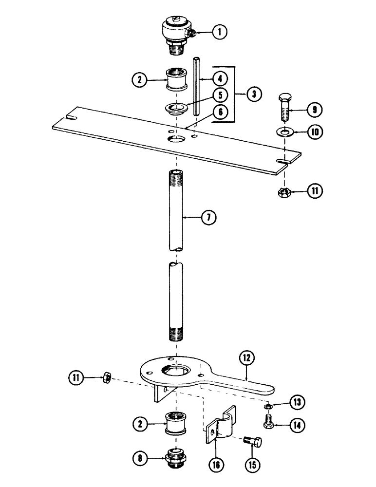
S39517

SWIVEL CONNECTION

Inner brake

1шт.

1

REF

INSTRUCTION

SWIVEL, track brake (For swivel, see figure 116)

1шт.

2

221-1336

COUPLING,Pipe, 1/4" NPT

Female

2шт.

3

NSS

NOT SOLD SEPARAT

PLATE, guide

1шт.

4

138-169

LOCK PIN,5/16" x 4", Slotted

2шт.

5

S71802

NYLON BEARING,0.756" ID x 1.187" OD x 0.375"

Nylon

1шт.

6

S71801

SPARE PART

1шт.

7

S79230

NIPPLE, LUBE

NIPPLE PIPE - 1/4" x 24-1/4" long

1шт.

8

218-1022

HYD CONNECTOR,7/16"-20, 37 Degree x 1/4"-18, NPTF

ADAPTER

1шт.

9

13-620

BOLT,Hex, 3/8" - 16 x 1-1/4", Gr 5, Full Thd

2шт.

10

95-5

WASHER,3/8" x 7/8" x .083"

4шт.

11

131-6

LOCK NUT,3/8"-16, GC

2шт.

12

S209353

PLATE

Lower swivel mounting

1шт.

13

92-5

LOCK WASHER,5/16"

3шт.

14

13-516

BOLT,Hex, 5/16" - 18 x 1", Gr 5

3шт.

15

13-620

BOLT,Hex, 3/8" - 16 x 1-1/4", Gr 5, Full Thd

2шт.

16

A55980

CLAMP

1шт.

Выбрано товаров: 17