Запчасти Case 980 (056) - INSTRUMENT PANEL AND RELATED PARTS (06) - ELECTRICAL SYSTEMS

Схема запчастей Case 980 - (056) - INSTRUMENT PANEL AND RELATED PARTS (06) - ELECTRICAL SYSTEMS
FIT
1:1
100%

Артикул

Название

Примечание

Количество

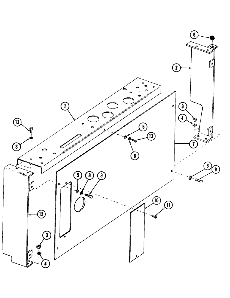
1

S603457

PANEL, instrument

1шт.

2

S505704

BRACKET, instrument panel support

1шт.

3

131-6

LOCK NUT,3/8"-16, GC

NUT, self locking - 3/8" - 16 NC

4шт.

4

195-25

WASHER,3/8"

flat - 3/8"

4шт.

5

195-18

WASHER,1/4"

flat - 1/4"

1шт.

6

S68002

GROMMET,7/16" ID x 11/16" Groove Dia

2шт.

7

S505708

PANEL, side

1шт.

8

92-4

LOCK WASHER,1/4"

WASHER, LOCK, 1/4"

9шт.

9

13-412

BOLT,Hex, 1/4" - 20 x 3/4", Gr 5, Full Thd

4шт.

10

S92342

DOOR, fuse box

1шт.

11

187-1012

SELF-TAP SCREW,Slotted Pan Hd, #10 x 3/8"

SCREW, self tapping - No. 10-24 NC x 3/8"

2шт.

12

S505706

BRACKET, instrument panel support

1шт.

13

13-48

BOLT,Hex, 1/4" - 20 x 1/2", Gr 5

5шт.

Выбрано товаров: 13