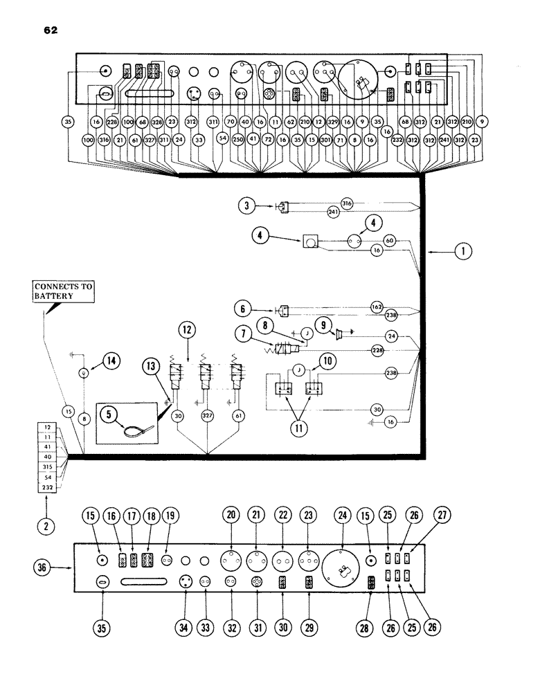
Запчасти Case 980B (062) - INSTRUMENT PANEL AND TURNTABLE WIRING HARNESS, (USED ON UNITS PRIOR TO PIN 6204051) (06) - ELECTRICAL SYSTEMS

Схема запчастей Case 980B - (062) - INSTRUMENT PANEL AND TURNTABLE WIRING HARNESS, (USED ON UNITS PRIOR TO PIN 6204051) (06) - ELECTRICAL SYSTEMS
FIT
1:1
100%

Артикул

Название

Примечание

Количество

1

S610693

HARNESS

WIRING HARNESS, instrument panel and turntable, Includes: Ref. 2

1шт.

2

S99519

CONTAINER

CONNECTOR, electrical - (9 contact) - (female)

1шт.

3

S229577

SWITCH

override button - (in RIGHT control handle)

1шт.

4

REF

INSTRUCTION

HEATER, hot water - (for breakdown, see Figure 108) SWITCH, heater - (furnished with heater)

1шт.

5

S73387

CLIP

TIE, cable - (for ground wires)

1шт.

6

S218252

SWITCH

BUTTON, fast hoist - (in LEFT control handle) (OPTIONAL)

1шт.

7

NSS

NOT SOLD SEPARAT

VALVE, drive range - (for breakdown, see Figure 188)

1шт.

8

S206378

ELECTRICAL WIRE

WIRE, jumper - 14 gauge wire x 4" long

1шт.

9

S203189

HORN

1шт.

S64752

NUT

- (mounts horn to horn mounting bracket)

1шт.

10

S232880

WIRE, jumper - 14 gauge wire x 6-1/4" long

1шт.

11

S106819

SWITCH, fast hoist cut out pressure - (OPTIONAL)

2шт.

12

S231452

VALVE

solenoid cartridge - (used with fast hoist, drive brake and drive lock circuits)

3шт.

13

223-61

TERMINAL CONNECTOR,14 - 16

TERMINAL, eyelet - (for ground wires)

1шт.

14

NSS

NOT SOLD SEPARAT

SENDING UNIT, fuel gauge - (see ref 4 on Figure 82)

1шт.

214-1202

CLAMP

- (fuel gauge, Serial Range: wire-turntable)

2шт.

S48576

NUT

speed

2шт.

15

D35815

LAMP

LIGHT, panel

2шт.

16

S88636

IGNITION SWITCH

SWITCH, drive light

1шт.

17

S108079

SWITCH

drive brake

1шт.

18

S108129

SWITCH

drive lock

1шт.

19

D34924

SWITCH

BUTTON, horn

1шт.

Replaced by S241920

1шт.

20

S27827

GAUGE

oil pressure

1шт.

21

S27824

ELECTRICAL GAUGE

GAUGE, engine temperature

1шт.

22

S235515

ELECTRICAL GAUGE

GAUGE, ammeter

1шт.

23

S27829

ELECTRICAL GAUGE

GAUGE, fuel

1шт.

24

R24646

ELECTRICAL GAUGE

HOURMETER

1шт.

A27780

FLANGE

DAMPER

1шт.

173-32

SCREW,Sl Rnd Hd, #4 - 40 x 3/4"

machine - No. 4-40 NC x 3/4"

3шт.

192-13

WASHER,#4

Lock, #4

3шт.

129-13

NUT,#4-40

3шт.

25

S115714

BREAKER

circuit - (10 AMP)

2шт.

26

S109173

CIRCUIT-BREAKER

BREAKER, circuit - (15 AMP)

3шт.

27

S231437

BREAKER

circuit - (25 AMP)

1шт.

28

S88636

IGNITION SWITCH

SWITCH, work light - (OPTIONAL)

1шт.

29

S88636

IGNITION SWITCH

SWITCH, swing lockout override - (OPTIONAL)

1шт.

30

S88636

IGNITION SWITCH

SWITCH, panel light

1шт.

31

S225028

IGNITION SWITCH

SWITCH, wiper

1шт.

32

D34924

SWITCH

BUTTON, cold start - (OPTIONAL)

1шт.

33

D34924

SWITCH

BUTTON, starter

1шт.

34

S612815

KIT

SWITCH, key

1шт.

D36822

KEY

- (NOT ILLUSTRATED)

1шт.

THE KEY WHICH IS NOT ILLUS. SHOULD BE P/N A60319.

1шт.

35

S96034

LIGHT

brake warning

1шт.

S97035

BULB

light

1шт.

36

NSS

NOT SOLD SEPARAT

PANEL, instrument - (see ref 2 on Figure 66)

1шт.

Выбрано товаров: 47