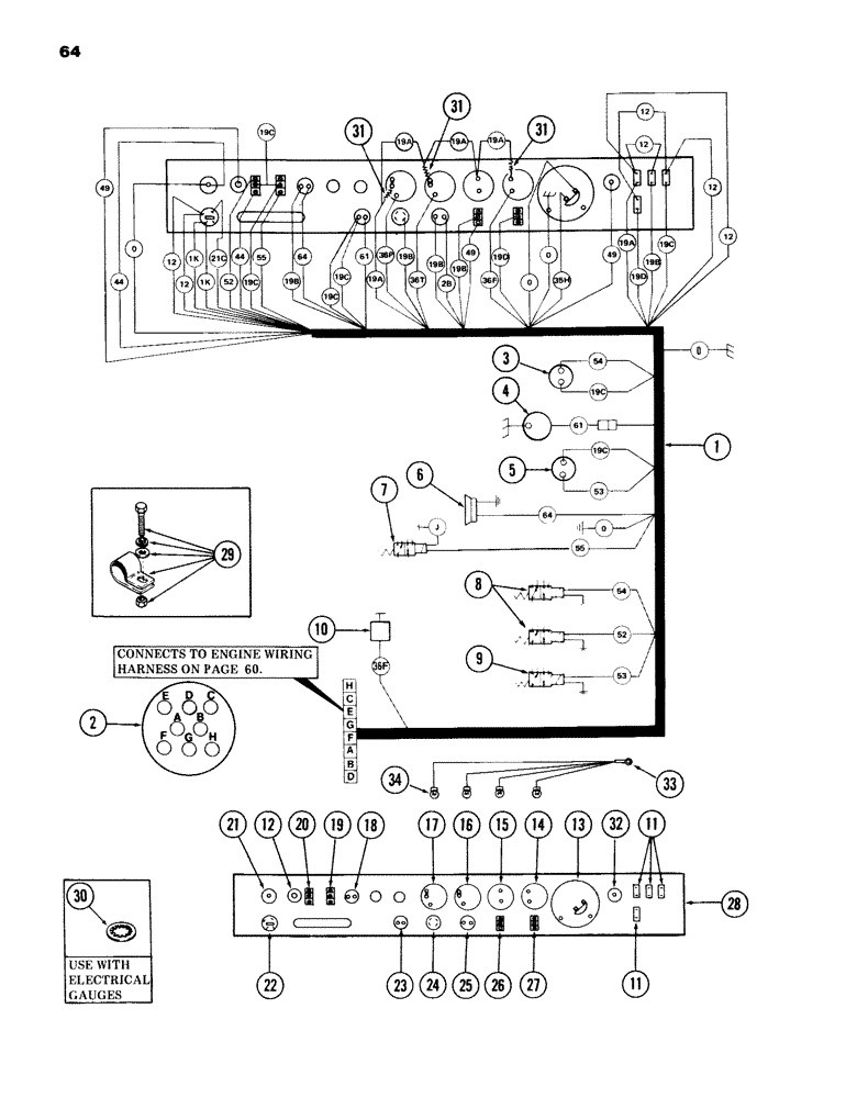
Запчасти Case 980B (064) - INSTRUMENT PANEL AND TURNTABLE WIRING HARNESS, (USED ON UNITS WITH PIN 6204051 AND AFTER) (06) - ELECTRICAL SYSTEMS

Схема запчастей Case 980B - (064) - INSTRUMENT PANEL AND TURNTABLE WIRING HARNESS, (USED ON UNITS WITH PIN 6204051 AND AFTER) (06) - ELECTRICAL SYSTEMS
FIT
1:1
100%

Артикул

Название

Примечание

Количество

1

S614355

WIRING HARNESS - instrument panel and cab, Includes: Ref. 2

1шт.

2

S107264

CONNECTION,ELECTRIC

CONNECTOR - electrical, 8 contact

1шт.

3

S238765

SWITCH

- crawler detent - (Replaces S237884)

1шт.

4

REF

INSTRUCTION

HEATER - (See Figure 112)

1шт.

5

S238765

SWITCH

- fast hoist push button - (Replaces S235948)

1шт.

6

D77650

HORN

1шт.

7

REF

INSTRUCTION

VALVE - two speed solenoid (See Figure 282)

1шт.

S238309

DIODE

1шт.

8

S237942

VALVE

- solenoid cartridge (used with drive lock and drive brake circuits)

2шт.

S238309

DIODE

2шт.

9

S237942

VALVE

- solenoid cartridge (used with fast hoist circuit)

1шт.

S238309

DIODE

1шт.

10

NSS

NOT SOLD SEPARAT

SENDING UNIT - (See Ref. 4 on Figure 84)

1шт.

11

S115714

BREAKER

- circuit

4шт.

12

S28822

LAMP

LIGHT - instrument panel

2шт.

T39535

BULB

- light

2шт.

13

S514333

HOURMETER

- (Replaces S213391)

1шт.

A27780

FLANGE

DAMPER

1шт.

173-62

SCREW - machine No

3шт.

192-13

WASHER,#4

Lock, #4

3шт.

129-15

NUT,#6-32

- No. 4

3шт.

14

S108399

ELECTRICAL GAUGE

GAUGE - fuel

1шт.

15

S237893

VOLTMETER

GAUGE - voltmeter

1шт.

16

S108395

GAUGE

- engine temperature

1шт.

17

S108397

ELECTRICAL GAUGE

GAUGE - oil pressure

1шт.

18

D34924

SWITCH

BUTTON - horn

1шт.

Replaced by S241920

1шт.

19

S88636

IGNITION SWITCH

SWITCH - drive range

1шт.

20

S108079

SWITCH

- drive brake

1шт.

21

S96034

LIGHT

- brake warning

1шт.

S97035

BULB

- light (Replaces T 39535)

1шт.

22

S108413

SWITCH

- key

1шт.

A60319

KEY

- switch - (NOT ILLUSTRATED)

1шт.

193-37

LOCK WASHER,Int Tooth, 1"

WASHER, LOCK, Int Tooth, 1"

1шт.

(KEY) SHOULD BE D36822 PER T/S 124-82

1шт.

23

NSS

NOT SOLD SEPARAT

SWITCH - heater - (furnished with heater)

1шт.

24

S225028

IGNITION SWITCH

SWITCH - windshield wiper

1шт.

D80343

KNOB - wiper switch

1шт.

25

D34924

SWITCH

BUTTON - cold start (OPTIONAL)

1шт.

Replaced by S241920

1шт.

26

S88636

IGNITION SWITCH

SWITCH - panel light

1шт.

27

S88636

IGNITION SWITCH

SWITCH - work light (OPTIONAL)

1шт.

28

NSS

NOT SOLD SEPARAT

PANEL, instrument (See Ref 2 on Figure 66)

1шт.

29

A62209

CLAMP,5/16", Insul, 1/4" Bolt

- wiring harness mounting

4шт.

195-101

WASHER,3/16"

- flat 1/4"

4шт.

86625061

NUT,1/4"-20, GB

NUT - lock 1/4" NC hex

2шт.

113-1

BOLT,Hex, 1/4" - 20 x 1/2", Gr 5

- 1/4" x 5/8" NC hex (Grade 5)

2шт.

192-19

LOCK WASHER,Helical Spring, 0.256" ID, CST, ZND

WASHER, LOCK, 1/4"

2шт.

30

193-25

LOCK WASHER,Int Tooth, 0.172" ID x 0.332" OD, STL, PLN

WASHER, LOCK, Int Tooth, #8

20шт.

193-26

LOCK WASHER,Int Tooth, #10

WASHER, LOCK, Int Tooth, #10

20шт.

193-28

LOCK WASHER,Int Tooth, 1/4"

WASHER - lock 1/4" - (internal tooth)

20шт.

31

S108406

RESISTOR

- (with gauges)

3шт.

129-37

NUT,#10-32

3шт.

193-26

LOCK WASHER,Int Tooth, #10

WASHER - flat No. 10

3шт.

32

S28822

LAMP

LIGHT - instrument panel - (used on units prior to PIN 6204220)

1шт.

T39535

BULB

- light

1шт.

33

S2385531

HARNESS - wire - (for lamps in gauges) - (used on units with PIN 6204220 and after)

1шт.

34

A14553

BULB

- light - (into harness for gauges)- (used on units with PIN 6204220 and after)

1шт.

Выбрано товаров: 58